授权公布号:CN209956973U
一种轴承滚子淬火加工的自动上料生产线
有效
申请
2019-04-30
申请公布
1970-01-01
授权
2020-01-17
预估到期
2029-04-30
| 申请号 | CN201920618151.1 |
| 申请日 | 2019-04-30 |
| 授权公布号 | CN209956973U |
| 授权公告日 | 2020-01-17 |
| 分类号 | B65G65/23;B65G65/42;B65G47/22;B65G47/18 |
| 分类 | 输送;包装;贮存;搬运薄的或细丝状材料; |
| 申请人名称 | 福建省永安轴承有限责任公司 |
| 申请人地址 | 福建省三明市永安市埔岭路699号 |
专利法律状态
2020-01-17
授权
状态信息
授权
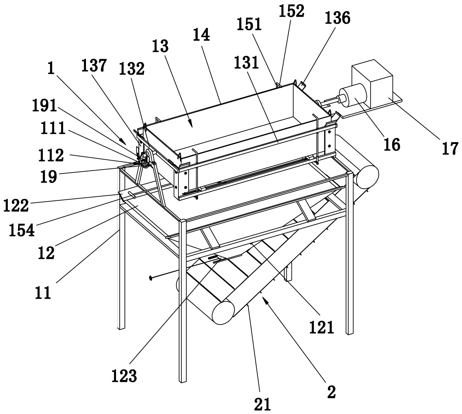
摘要
本实用新型公开了一种轴承滚子淬火加工的自动上料生产线,涉及轴承生产设备领域,包括自动出料机、输送带和整料机构。自动出料机包括机架、料斗以及用于放置料箱的槽体,槽体的左右两侧可竖直翻转地设置于机架,该槽体设有用于固定料箱的锁固机构。机架在槽体的下方设置有所述料斗,用于承接从料箱倒出的轴承滚子。料斗的出料口下方设有输送带,且输送带的末端装配有使轴承滚子在竖直方向逐一且平放通行的整料机构。本实用新型可实现轴承滚子的自动上料和整料工序,不仅具有操作简单、省时省力和自动化水平高等优点,而且能够有效避免传统上料和整料方式对轴承滚子造成的不必要的损伤。


