授权公布号:CN217833324U
一种便于调节的圆柱滚子轴承固定装置
有效
申请
2022-01-29
申请公布
1970-01-01
授权
2022-11-18
预估到期
2032-01-29
| 申请号 | CN202220241008.7 |
| 申请日 | 2022-01-29 |
| 授权公布号 | CN217833324U |
| 授权公告日 | 2022-11-18 |
| 分类号 | B25B11/00 |
| 分类 | 手动工具;轻便机动工具;手动器械的手柄;车间设备;机械手; |
| 申请人名称 | 瓦房店金峰轴承制造有限公司 |
| 申请人地址 | 辽宁省大连市瓦房店市西郊工业园区西安北街28号 |
专利法律状态
2022-11-18
授权
状态信息
授权
摘要
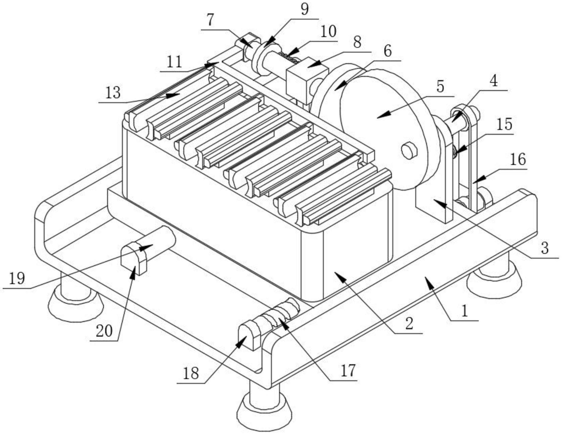
本实用新型公开了一种便于调节的圆柱滚子轴承固定装置,属于圆柱滚子轴承技术领域,其包括底座,所述底座的上表面设置有移动台,所述移动台的上表面固定连接有支撑板,所述支撑板内设置有伸缩转杆,所述伸缩转杆的外表面卡接有转盘,所述转盘的外表面与控制盘的正面搭接,所述控制盘内卡接有移动杆。该便于调节的圆柱滚子轴承固定装置,通过设置伸缩转杆、转盘、控制盘、移动杆、移动柱、传动机构和丝杆,使得移动台带动支撑板、转盘、移动杆和橡胶挤压块进行移动,使得本装置能够对多个圆柱滚子轴承同时进行夹持固定,还能够对多个圆柱滚子轴承的位置进行调整,保证了多个圆柱滚子轴承在加工过程中的稳定性,提高了工作效率。


