授权公布号:CN212903799U
一种落球设备
有效
申请
2020-08-06
申请公布
1970-01-01
授权
2021-04-06
预估到期
2030-08-06
| 申请号 | CN202021621711.8 |
| 申请日 | 2020-08-06 |
| 授权公布号 | CN212903799U |
| 授权公告日 | 2021-04-06 |
| 分类号 | G01M7/08 |
| 分类 | 测量;测试; |
| 申请人名称 | 晋西车轴股份有限公司 |
| 申请人地址 | 山西省太原市高新技术开发区长治路436号科祥大厦 |
专利法律状态
2021-04-06
授权
状态信息
授权
摘要
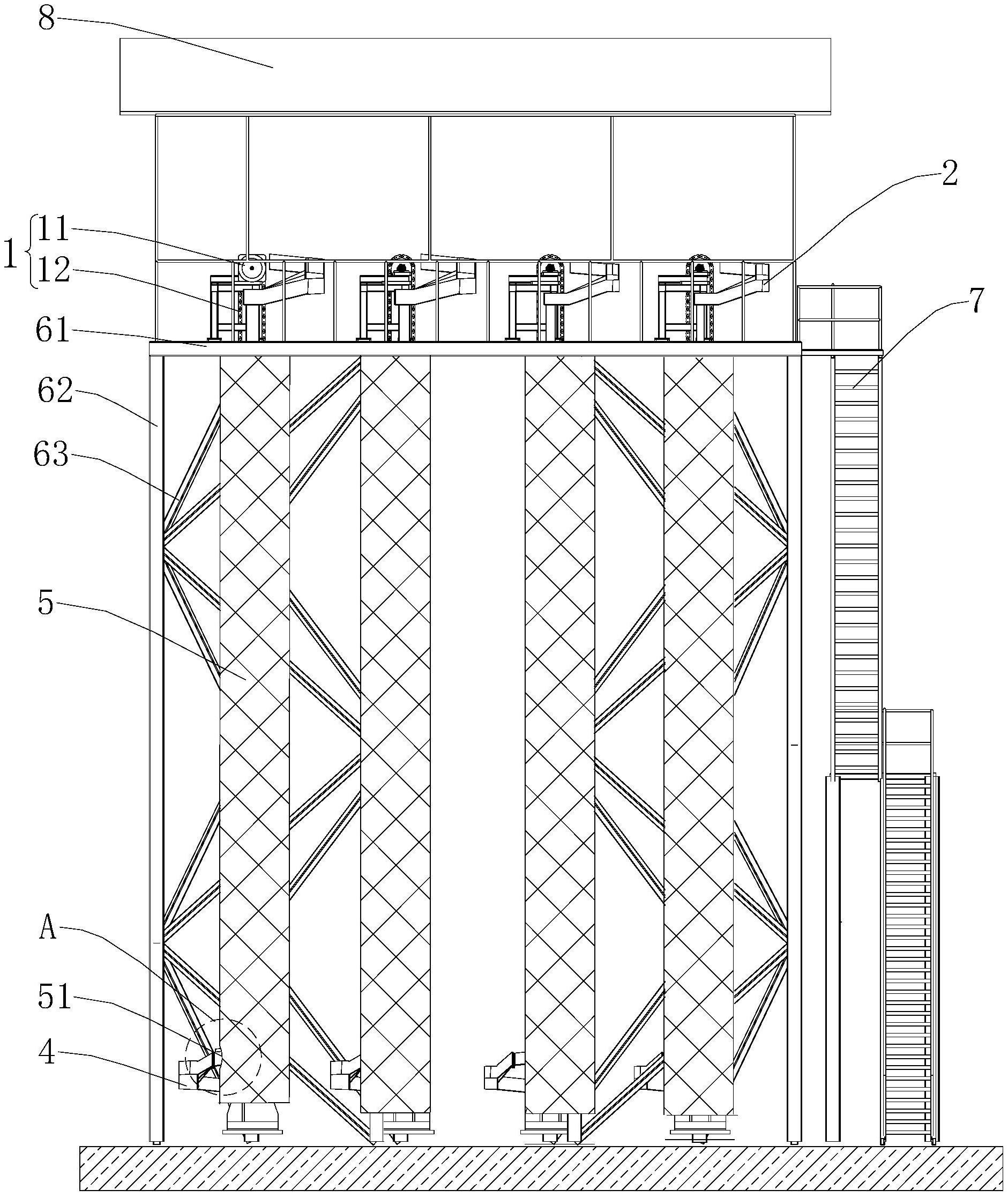
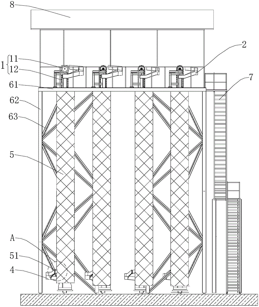
本实用新型提供一种落球设备。本实用新型所述落球设备,包括用于落球性能测试的落球通道、用于将所述落球通道中的所述落球导出的第一导向通道、用于将所述第一导向通道导出的所述落球提升至所述落球通道顶部的升降装置和防护结构;所述第一导向通道位于所述落球通道的底部,所述防护结构环绕所述升降装置设置;所述第一导向通道的一端与所述落球通道相连通;所述升降装置与所述第一导向通道的另一端的位置相对应。通过将所述防护结构环绕于所述升降装置设置;当所述升降装置内的落球在提升的途中掉落时,所述防护结构限制所述落球在水平方向上的位移,以防止落球砸伤工作人员。


