授权公布号:CN213968873U
一种芯盒结构
有效
申请
2020-10-12
申请公布
1970-01-01
授权
2021-08-17
预估到期
2030-10-12
| 申请号 | CN202022253460.9 |
| 申请日 | 2020-10-12 |
| 授权公布号 | CN213968873U |
| 授权公告日 | 2021-08-17 |
| 分类号 | B22C7/06;B22D27/04 |
| 分类 | 铸造;粉末冶金; |
| 申请人名称 | 晋西车轴股份有限公司 |
| 申请人地址 | 山西省太原市高新技术开发区长治路436号科祥大厦 |
专利法律状态
2021-08-17
授权
状态信息
授权
摘要
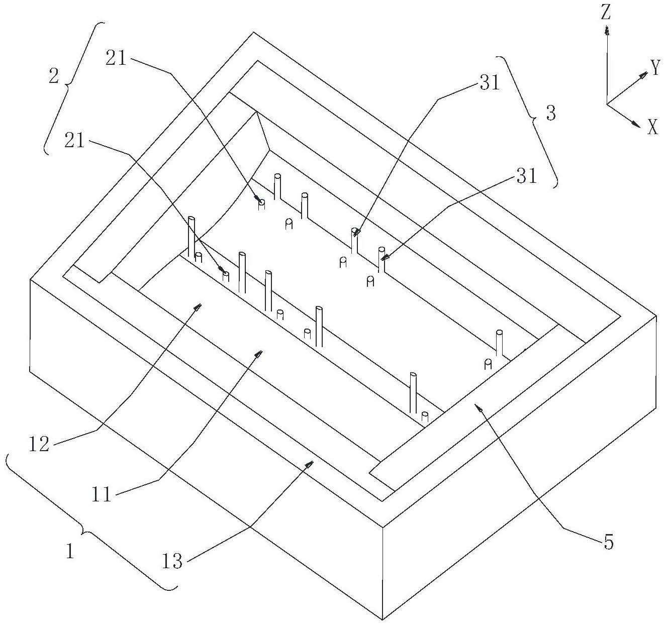
本实用新型提供了一种芯盒结构,包括:盒体,其一侧设有开口,支撑组件,其设置于盒体中,支撑组件包括支撑件,支撑件的一端与开口相对的盒体的内壁连接,支撑件的另一端适于支撑冷铁;定位组件,其设置于盒体中,定位组件用于定位冷铁在盒体中的位置。本实用新型具有便于对冷铁进行定位,冷铁不易移位,提高铸件加工质量的效果。


