授权公布号:CN215845470U
一种料棒两端胎膜镦球装置
有效
申请
2021-09-09
申请公布
1970-01-01
授权
2022-02-18
预估到期
2031-09-09
| 申请号 | CN202122169899.8 |
| 申请日 | 2021-09-09 |
| 授权公布号 | CN215845470U |
| 授权公告日 | 2022-02-18 |
| 分类号 | B21J9/06;B21J13/00;B21J13/10 |
| 分类 | 基本上无切削的金属机械加工;金属冲压; |
| 申请人名称 | 晋西车轴股份有限公司 |
| 申请人地址 | 山西省太原市太原高新技术开发区长治路436号科祥大厦 |
专利法律状态
2022-02-18
授权
状态信息
授权
摘要
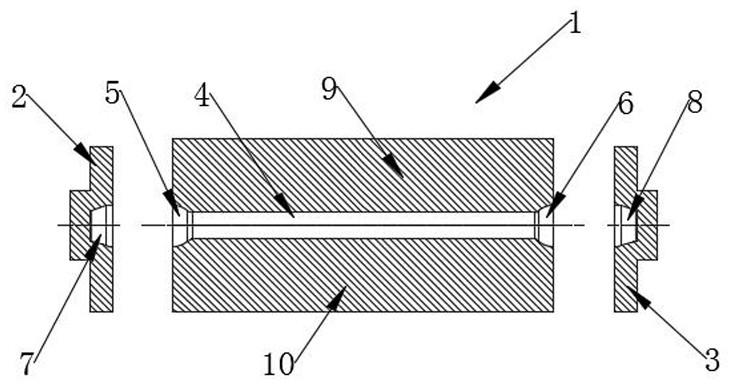
一种料棒两端胎膜镦球装置,属于锻造胎模锻技术领域,解决现有棒料端部镦球过程存在的操作复杂、工人劳动强度大、端部形状和尺寸难以控制、不适用于精密成型等技术问题。本实用新型通过以下技术方案予以实现:一种料棒两端胎膜镦球装置,其中:包括中部压紧模、左镦粗模和左镦粗模;所述中部压紧模中部水平设有料棒放置腔;所述左镦粗模设在中部压紧模的左侧;所述右镦粗模设在中部压紧模的右侧;所述中部压紧模沿料棒放置腔体的水平中轴线分为上压紧模和下压紧模。本实用新型具有结构简单、设计合理、劳动强度小、生产效率高等优点。


