授权公布号:CN215864971U
一种车轴径向跳动检测装置
有效
申请
2021-09-06
申请公布
1970-01-01
授权
2022-02-18
预估到期
2031-09-06
| 申请号 | CN202122137909.X |
| 申请日 | 2021-09-06 |
| 授权公布号 | CN215864971U |
| 授权公告日 | 2022-02-18 |
| 分类号 | G01B5/00 |
| 分类 | 测量;测试; |
| 申请人名称 | 晋西车轴股份有限公司 |
| 申请人地址 | 山西省太原市太原高新技术开发区长治路436号科祥大厦 |
专利法律状态
2022-02-18
授权
状态信息
授权
摘要
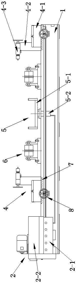
一种车轴径向跳动检测装置,属于铁路车辆检测技术领域,解决现有车轴径向跳动检测装置存在的操作不便、工作效率低、检测难度大等技术问题。本实用新型通过以下技术方案予以实现:一种车轴径向跳动检测装置,其中:包括检测平台和设在检测平台一侧的控制装置;所述检测平台顶面沿水平方向设有两条相互平行的轨道,所述检测平台顶面左右两端相对设置有两组顶尖机构;所述检测平台顶面中部、两条轨道之间设有液压支撑机构,所述液压支撑机构左右两侧各设有一组滚轮机构。本实用新型具有结构简单、设计合理、方便实用、劳动强度小、工作效率高等优点。


