授权公布号:CN213176780U
一种间隙密封装置
有效
申请
2020-08-06
申请公布
1970-01-01
授权
2021-05-11
预估到期
2030-08-06
| 申请号 | CN202021617580.6 |
| 申请日 | 2020-08-06 |
| 授权公布号 | CN213176780U |
| 授权公告日 | 2021-05-11 |
| 分类号 | F16J15/02 |
| 分类 | 工程元件或部件;为产生和保持机器或设备的有效运行的一般措施;一般绝热; |
| 申请人名称 | 晋西车轴股份有限公司 |
| 申请人地址 | 山西省太原市高新技术开发区长治路436号科祥大厦 |
专利法律状态
2021-05-11
授权
状态信息
授权
摘要
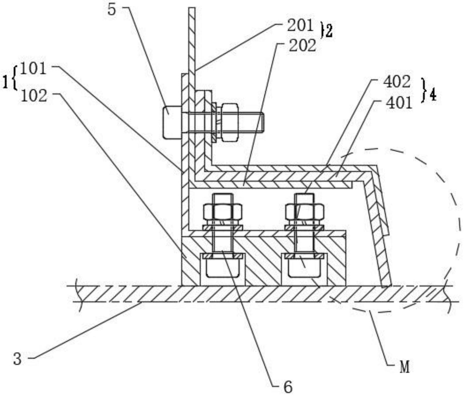
本实用新型提供了一种间隙密封装置,包括机械工件和与所述机械工件连接的间隙密封结构,还包括减压结构,所述减压结构位于所述机械工件内部,所述减压结构适于降低所述机械工件内的液体对所述机械工件的冲击力。本实用新型的有益效果:能够提高机械工件运动中对液体的密封效果。


