授权公布号:CN112564352B
一种固定电机转子部件的挡片结构的装配方法
有效
申请
2020-12-24
申请公布
2021-03-26
授权
2023-02-03
预估到期
2040-12-24
| 申请号 | CN202011553630.3 |
| 申请日 | 2020-12-24 |
| 申请公布号 | CN112564352A |
| 申请公布日 | 2021-03-26 |
| 授权公布号 | CN112564352B |
| 授权公告日 | 2023-02-03 |
| 分类号 | H02K1/28;H02K15/02 |
| 分类 | 发电、变电或配电; |
| 申请人名称 | 贵阳万江航空机电有限公司 |
| 申请人地址 | 贵州省贵阳市新添大道北段170号 |
专利法律状态
2023-02-03
授权
状态信息
授权
2021-03-26
公布
状态信息
公布
摘要
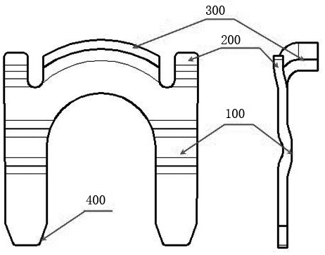
本发明公开了一种固定电机转子部件的挡片结构,挡片呈倒U型,其特征在于:前端设有横向的拱高(100),顶端设有翻面(300),顶端两侧分别设有独立翻边(200),底端的两脚分别设有左右斜边(400),独立翻边(200)与减壳体(2)贴合,拱高(100)与转子部件的轴承(301)接触。本发明通过重新设计挡片结构,在有限空间内提升挡片的弹性,提高产品合格率,大幅降低转子部件轴承的不良率,可实现自动化送料,适用于大规模生产。


