授权公布号:CN211449393U
运输机构的行导轮
有效
申请
2020-01-08
申请公布
1970-01-01
授权
2020-09-08
预估到期
2030-01-08
| 申请号 | CN202020038708.7 |
| 申请日 | 2020-01-08 |
| 授权公布号 | CN211449393U |
| 授权公告日 | 2020-09-08 |
| 分类号 | F16C31/04 |
| 分类 | 工程元件或部件;为产生和保持机器或设备的有效运行的一般措施;一般绝热; |
| 申请人名称 | 江苏瑞雪海洋科技股份有限公司 |
| 申请人地址 | 江苏省南通市开发区中央路68号 |
专利法律状态
2020-09-08
授权
状态信息
授权
摘要
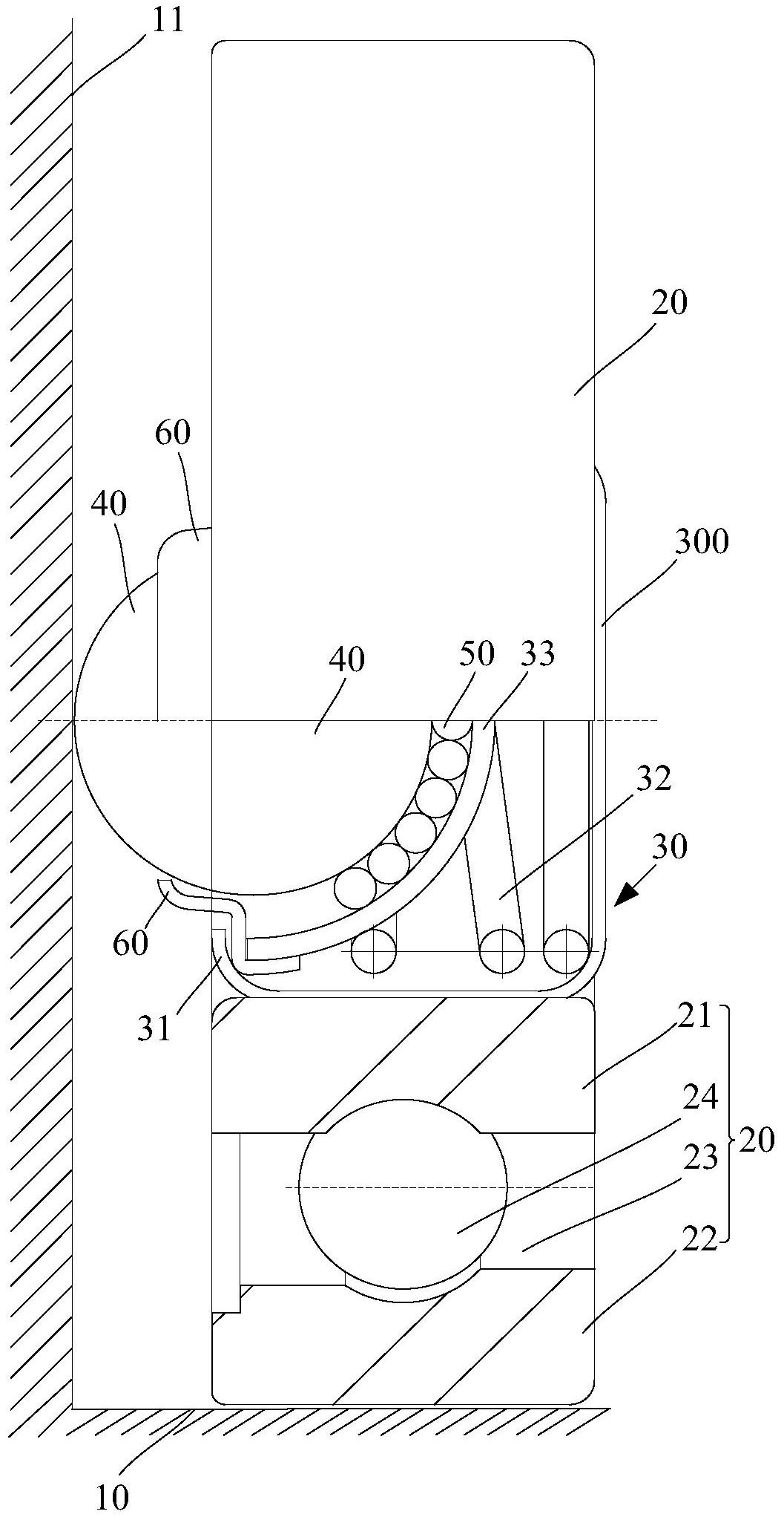
本实用新型涉及一种运输机构的行导轮,用于在轨道上移动,且通过垂直于轨道的轨道侧壁进行导向,行导轮包括:滚设于轨道的滚珠轴承,滚珠轴承的中心形成有通孔;过盈插设于通孔内的座体,座体的中轴线和滚珠轴承的中轴线相重合,座体的一端形成有限位槽,座体的另一端形成供和运输机构连接的安装端;可转动地设于限位槽且部分凸伸出座体一端的滚球,滚球滚动贴设于轨道侧壁从而进行导向。当滚珠轴承在轨道上正常旋转前进时,滚球循着轨道侧壁,引导滚珠轴承的前进方向,实现行导合一。


