授权公布号:CN214884377U
一种横纵铝龙骨新连接形式
有效
申请
2020-12-31
申请公布
1970-01-01
授权
2021-11-26
预估到期
2030-12-31
| 申请号 | CN202023299180.8 |
| 申请日 | 2020-12-31 |
| 授权公布号 | CN214884377U |
| 授权公告日 | 2021-11-26 |
| 分类号 | E04B1/24;E04B1/58 |
| 分类 | 建筑物; |
| 申请人名称 | 山东雅博科技股份有限公司 |
| 申请人地址 | 山东省枣庄市市中区东海路17号 |
专利法律状态
2021-11-26
授权
状态信息
授权
摘要
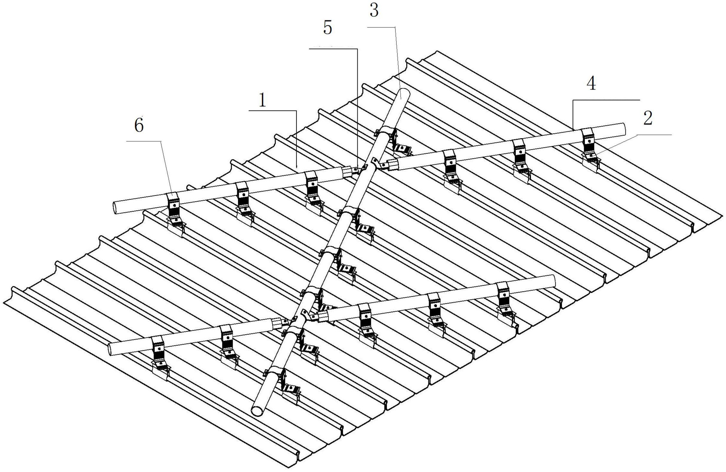
本实用新型公开了一种横纵铝龙骨新连接形式,包括:屋面板、一组转接组件、第一圆管主龙骨、一组第二圆管主龙骨和一组转接系统,所述转接组件设于屋面板上,所述第一圆管主龙骨设于屋面板上,所述第二圆管主龙骨相对设于第一圆管主龙骨两侧,其靠近第一圆管主龙骨一端通过转接系统与第一圆管主龙骨和第二圆管主龙骨均通过转接件与转接组件连接。本实用新型中所述的一种横纵铝龙骨新连接形式,其结构简单,设计合理,通过转接组件以及转接系统的设置,让其能够根据施工的实际需要对第一圆管主龙骨和第二圆管主龙骨安装角度进行调节,让其能够根据施工的需要自如调节,让其更好的满足施工的需要。


