授权公布号:CN208189719U
一种提升锂电过充稳定性的热敏极耳以及锂离子电池
有效
申请
2018-04-27
申请公布
1970-01-01
授权
2018-12-04
预估到期
2028-04-27
| 申请号 | CN201820624314.2 |
| 申请日 | 2018-04-27 |
| 授权公布号 | CN208189719U |
| 授权公告日 | 2018-12-04 |
| 分类号 | H01M10/0525;H01M2/26 |
| 分类 | 基本电气元件; |
| 申请人名称 | 湖南丰源业翔晶科新能源股份有限公司 |
| 申请人地址 | 湖南省长沙市经济技术开发区漓湘西路20号 |
专利法律状态
2024-02-09
专利权质押登记、变更及注销
状态信息
专利权质押登记注销;IPC(主分类):H01M 10/0525;授权公告日:20181204;申请日:20180427;专利号:ZL2018206243142;登记号:Y2022430000110;出质人:湖南丰源业翔晶科新能源股份有限公司;质权人:交通银行股份有限公司湖南省分行;注销日:20240122
2024-02-09
专利权质押登记、变更及注销
状态信息
专利权质押登记;IPC(主分类):H01M 10/0525;专利号:ZL2018206243142;登记号:Y2024980002782;登记日:20240123;出质人:湖南丰源业翔晶科新能源股份有限公司;质权人:交通银行股份有限公司湖南省分行;实用新型名称:一种提升锂电过充稳定性的热敏极耳以及锂离子电池;申请日:20180427;授权公告日:20181204
2022-12-30
专利权质押合同登记的生效、变更及注销
状态信息
专利权质押合同登记的生效;IPC(主分类):H01M10/0525;登记号:Y2022430000110;登记生效日:20221213;出质人:湖南丰源业翔晶科新能源股份有限公司;质权人:交通银行股份有限公司湖南省分行;实用新型名称:一种提升锂电过充稳定性的热敏极耳以及锂离子电池;申请日:20180427;授权公告日:20181204
2022-12-23
专利权质押合同登记的生效、变更及注销
状态信息
专利权质押合同登记的注销;IPC(主分类):H01M10/0525;授权公告日:20181204;申请日:20180427;登记号:Y2021430000085;出质人:湖南丰源业翔晶科新能源股份有限公司;质权人:交通银行股份有限公司湖南省分行;解除日:20221205
2021-12-21
专利权质押合同登记的生效、变更及注销
状态信息
专利权质押合同登记的生效;IPC(主分类):H01M10/0525;登记号:Y2021430000085;登记生效日:20211206;出质人:湖南丰源业翔晶科新能源股份有限公司;质权人:交通银行股份有限公司湖南省分行;实用新型名称:一种提升锂电过充稳定性的热敏极耳以及锂离子电池;申请日:20180427;授权公告日:20181204
2019-12-24
专利权人的姓名或者名称、地址的变更
状态信息
专利权人的姓名或者名称、地址的变更;IPC(主分类):H01M10/0525;变更事项:专利权人;变更前:湖南丰源业翔晶科新能源股份有限公司;变更后:湖南丰源业翔晶科新能源股份有限公司;变更事项:地址;变更前:410000 湖南省长沙市岳麓区经济开发区漓湘西路20号;变更后:410000 湖南省长沙市经济技术开发区漓湘西路20号
2018-12-04
授权
状态信息
授权
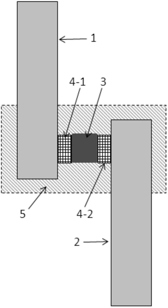
摘要
本实用新型属于锂电领域,具体公开了提升锂电过充稳定性的热敏极耳以及锂离子电池,其特征在于,包括前端极耳、后端极耳、用于将前端极耳和后端极耳导电连接的夹心热敏电阻、以及用于将前、后端极耳与夹心热敏电阻接触部位封装固定的绝缘胶;所述的夹心热敏电阻包括依次复合的金属层A、热敏电阻材料层和金属层B;所述的夹心热敏电阻的金属层A与前端极耳接触,金属层B与后端极耳接触;前端极耳、后端极耳一端封装在绝缘胶内,另一端延伸出绝缘胶。将本实用新型所述的极耳应用至锂离子电池的组装中,可以获得具有优异抗过充性能的锂离子电池。


