授权公布号:CN219350534U
一种带充电口的恒压锂电池
有效
申请
2023-02-15
申请公布
1970-01-01
授权
2023-07-14
预估到期
2033-02-15
| 申请号 | CN202320222020.8 |
| 申请日 | 2023-02-15 |
| 授权公布号 | CN219350534U |
| 授权公告日 | 2023-07-14 |
| 分类号 | H01M50/262;H01M10/42;H01M10/44;H01M50/242;H02J7/00 |
| 分类 | 基本电气元件; |
| 申请人名称 | 深圳市量能科技有限公司 |
| 申请人地址 | 广东省深圳市龙华区大浪街道大浪北路41号环成工业区3栋(整栋) |
专利法律状态
2023-07-14
授权
状态信息
授权
摘要
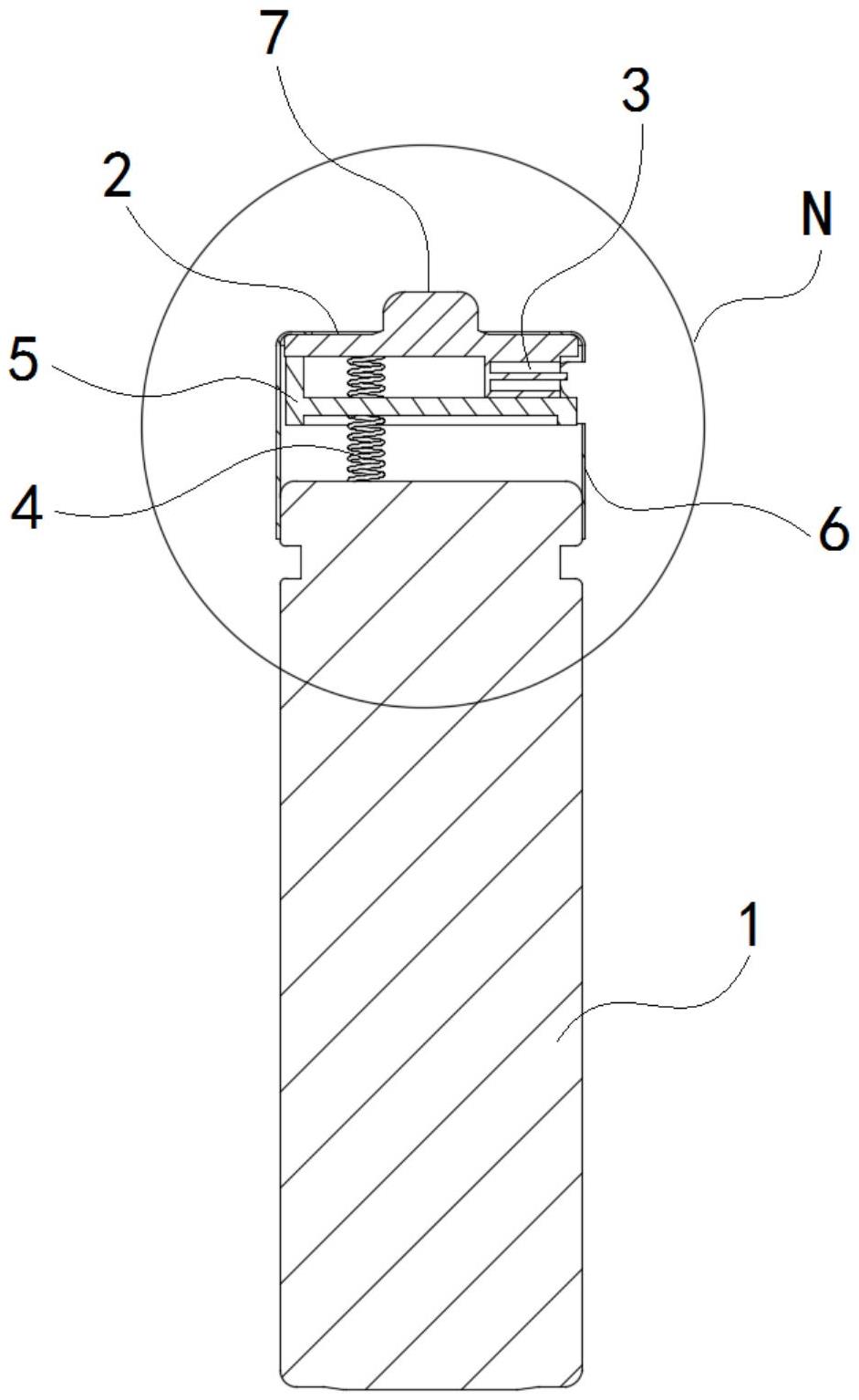
本申请公开一种带充电口的恒压锂电池,包括电芯组件、降压电路板、充电接口、弹性连接件、绝缘支架和金属套,所述充电接口安装于所述降压电路板的底部,且所述充电接口的开口朝外布置,所述降压电路板安装于所述绝缘支架的顶部形成组装件,所述组装件内嵌于所述金属套的上部,所述金属套的下部安装于所述电芯组件的肩高处,所述弹性连接件的一端与所述降压电路板连接,另一端与所述电芯组件的正极连接。本申请所述的锂电池可有效替代AA一次性碱性电池,而且结构简单,便于加工,整体结构稳定可靠。


