授权公布号:CN215600473U
一种锂电池组及手电筒
有效
申请
2021-06-11
申请公布
1970-01-01
授权
2022-01-21
预估到期
2031-06-11
| 申请号 | CN202121305920.6 |
| 申请日 | 2021-06-11 |
| 授权公布号 | CN215600473U |
| 授权公告日 | 2022-01-21 |
| 分类号 | H01M50/244;H01M50/242;F21L4/00;F21V23/00 |
| 分类 | 基本电气元件; |
| 申请人名称 | 深圳市量能科技有限公司 |
| 申请人地址 | 广东省深圳市龙华区大浪街道大浪北路41号环成工业区3栋(整栋) |
专利法律状态
2022-01-21
授权
状态信息
授权
摘要
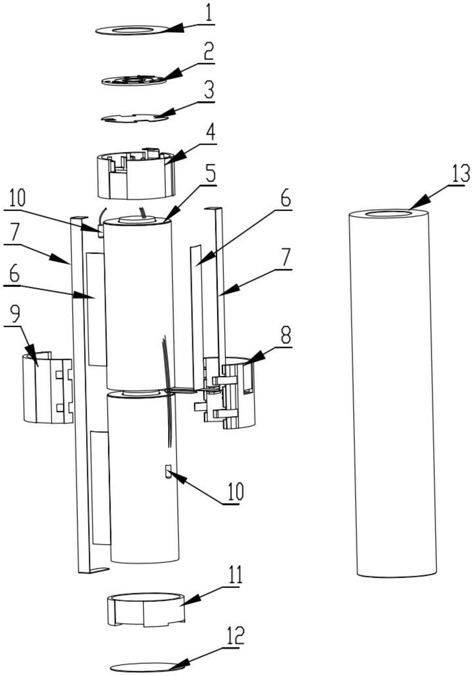
本实用新型公开了一种锂电池组及手电筒,所述锂电池组,包括电芯、保护板、保护板固定支架、下电芯固定支架、左电芯固定支架和右电芯固定支架,所述保护板固定支架、下电芯固定支架、左电芯固定支架和右电芯固定支架分别设于所述电芯的上、下、左和右四面,进行四个方向的定位;所述电芯包括至少两个通过连接片串联连接的锂电池;所述保护板固设于所述保护板固定支架上并与所述电芯电连接。该锂电池组不但组装简单,且在正常使用中甚至是发生跌落或碰撞时,也能确保锂电池组内各个电池之间的可靠连接和较好的同轴度。


