授权公布号:CN215251185U
一种便捷组装的脱钴装置
有效
申请
2021-06-17
申请公布
1970-01-01
授权
2021-12-21
预估到期
2031-06-17
| 申请号 | CN202121344626.6 |
| 申请日 | 2021-06-17 |
| 授权公布号 | CN215251185U |
| 授权公告日 | 2021-12-21 |
| 分类号 | C23F1/08;C23F1/28 |
| 分类 | 对金属材料的镀覆;用金属材料对材料的镀覆;表面化学处理;金属材料的扩散处理;真空蒸发法、溅射法、离子注入法或化学气相沉积法的一般镀覆;金属材料腐蚀或积垢的一般抑制〔2〕; |
| 申请人名称 | 河南亚龙金刚石制品股份有限公司 |
| 申请人地址 | 河南省郑州市高新区雪松路1号 |
专利法律状态
2021-12-21
授权
状态信息
授权
摘要
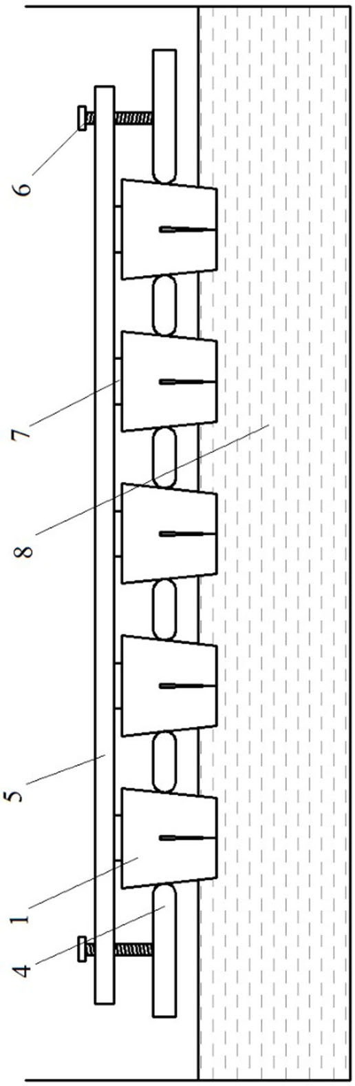
一种便捷组装的脱钴装置,包括孔板,孔板上开有孔,孔内装有装夹套,装夹套上方设置压板,压板通过紧固螺丝紧固在孔板上。本实用新型在保证复合片硬质合金被完全保护的前提下,减少脱钴装置的复杂程度和零部件构成,以减轻装置组装劳动量。同时选用橡胶和聚乙烯等耐酸材质以保证装置能够重复利用。使用该装置进行脱钴操作,将大大提高劳动效率,单次处理量明显增加,装置可反复使用,降低了工艺的材料成本。同时由于复合层浸泡在酸液中的高度固定,可确保产品脱钴的质量。


