授权公布号:CN206927866U
双层蒸炒锅螺旋榨油机
有效
申请
2017-06-13
申请公布
1970-01-01
授权
2018-01-26
预估到期
2027-06-13
| 申请号 | CN201720680376.0 |
| 申请日 | 2017-06-13 |
| 授权公布号 | CN206927866U |
| 授权公告日 | 2018-01-26 |
| 分类号 | C11B1/08;B30B9/02 |
| 分类 | 动物或植物油、脂、脂肪物质或蜡;由此制取的脂肪酸;洗涤剂;蜡烛; |
| 申请人名称 | 郑州企鹅粮油机械有限公司 |
| 申请人地址 | 河南省郑州市中原区西流湖街道化工路与长椿路交叉口 |
专利法律状态
2018-01-26
授权
状态信息
授权
摘要
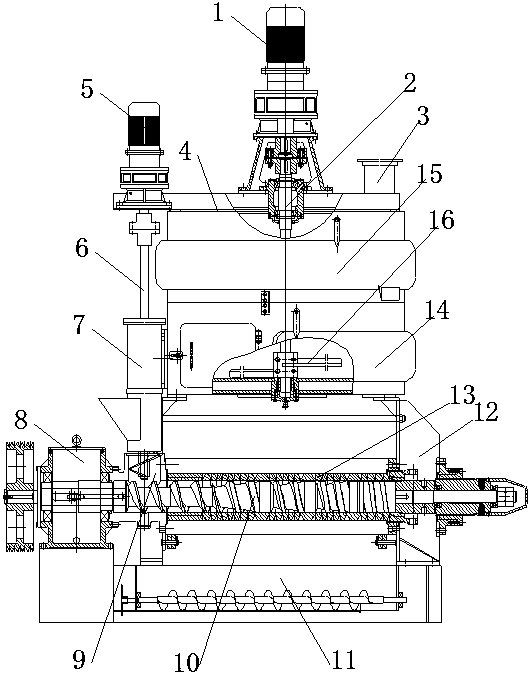
一种双层蒸炒锅螺旋榨油机,包括横向布置在机架下半部的榨油装置、机架上半部的炒料装置、以及连接在榨油装置和炒料装置之间的竖向下料装置,所所述的炒料装置包括上、下两层叠加的圆筒形炒锅,在圆筒轴心设有贯穿上下两层的翻炒转轴及翻炒叶片,在上、下层炒锅的侧壁外部环绕有蒸汽加热用夹层;上层炒锅的底板为双层隔热结构,在该底板上设有下料口,在下层炒锅内与该下料口对应位置设有一个下料控制挡板,该控制挡板通过转轴安装在下层炒锅内并能绕转轴翻转,在该下料控制挡板的下部连接有一个J形弯钩状的驱动板;该实用新型各处加热均匀,能够保证下炒锅内物料的量的稳定性,从而保证炒料的质量。


