授权公布号:CN220562224U
一种家用环保榨油机
有效
申请
2023-08-09
申请公布
1970-01-01
授权
2024-03-08
预估到期
2033-08-09
| 申请号 | CN202322127914.1 |
| 申请日 | 2023-08-09 |
| 授权公布号 | CN220562224U |
| 授权公告日 | 2024-03-08 |
| 分类号 | B30B9/14;B30B9/26;B30B15/08;B30B15/30;B30B15/32;B02C13/18;B02C13/28;B02C13/30 |
| 分类 | 压力机; |
| 申请人名称 | 四川青江机器股份有限公司 |
| 申请人地址 | 四川省雅安市雨城区草坝镇青江路5号 |
专利法律状态
2024-03-08
授权
状态信息
授权
摘要
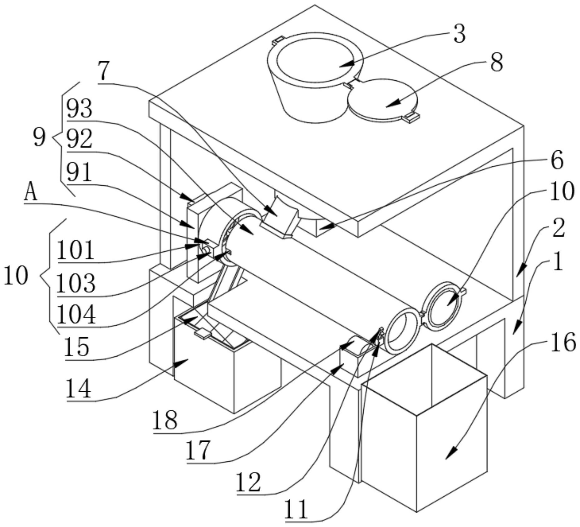
本实用新型涉及榨油机技术领域,提出了一种家用环保榨油机,包括:支架,所述支架的顶部固定安装有箱体,所述破碎箱与所述漏斗之间相连通,所述破碎箱的底部固定安装有电机一,所述电机一的输出端延伸至所述破碎箱的内部与所述破碎杆的底端固定连接;将所需榨油的食材通过漏斗进入破碎箱的内部,通过电机一带动破碎杆对食材进行破碎,便于提高出油效率,通过接合器与卡接器二进行卡接设置,卡接完成后通过卡接器一与卡接槽进行卡接设置,卡接完成后通过电机二带动接合器进行旋转,接合器联动榨油螺杆在榨油筒的内部进行旋转,对食材进行榨油处理,同时也便于对机械的清理防止油渍在机械的内部发生变质。


