授权公布号:CN213291432U
一种榨油机水冷出料机构
有效
申请
2020-09-03
申请公布
1970-01-01
授权
2021-05-28
预估到期
2030-09-03
| 申请号 | CN202021902481.2 |
| 申请日 | 2020-09-03 |
| 授权公布号 | CN213291432U |
| 授权公告日 | 2021-05-28 |
| 分类号 | B30B15/32;B30B9/02;B30B15/34;C11B1/06 |
| 分类 | 压力机; |
| 申请人名称 | 四川青江机器股份有限公司 |
| 申请人地址 | 四川省雅安市雨城区草坝镇青江路5号 |
专利法律状态
2021-05-28
授权
状态信息
授权
摘要
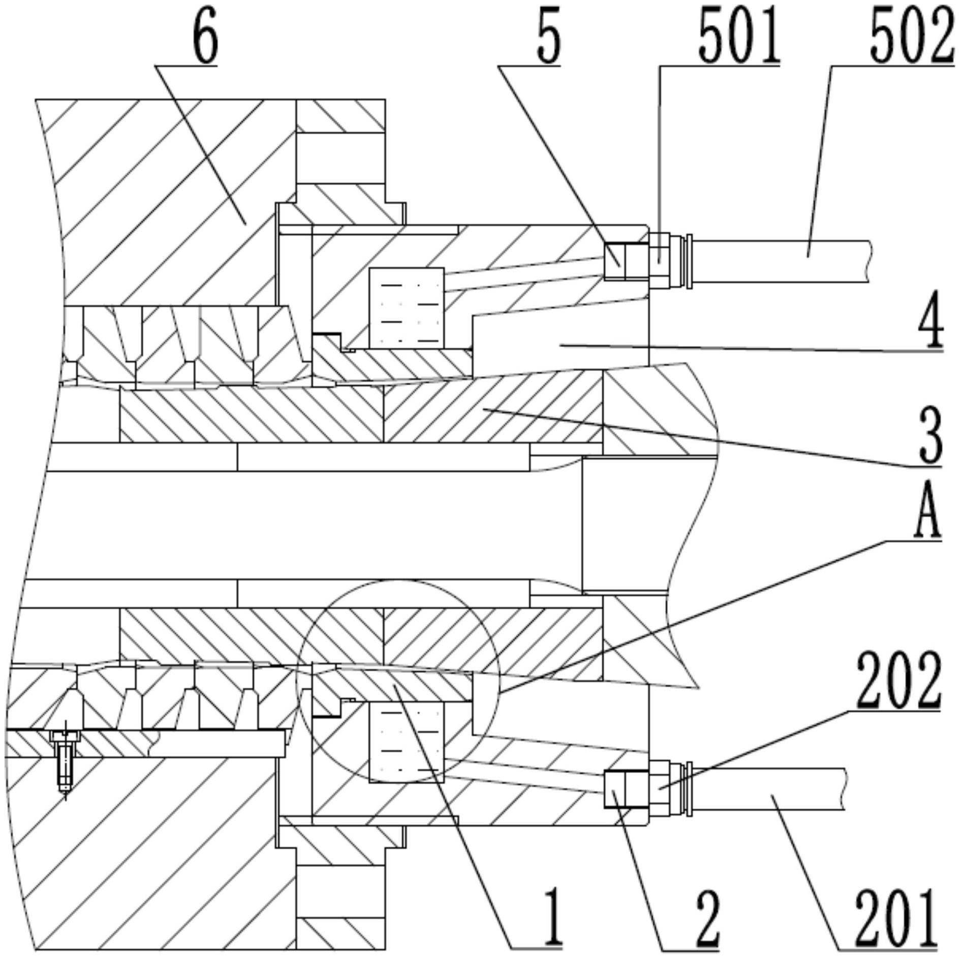
本实用新型涉及机械榨油领域,其具体地公开了一种榨油机水冷出料机构,用于对榨油机出料位置进行降温、散热,该机构包括调饼头、套接在调饼头上的出饼圈和套接在出饼圈上并固定在榨笼装置上的压紧螺母,调饼头与出饼圈之间的间隙形成出饼处;压紧螺母内从左到右依次设置有与压紧螺母同轴的第一内孔、第二内孔,第一内孔孔壁上设置有与第一内孔同轴的环形槽,压紧螺母的端口处设置有第一水口和第二水口,压紧螺母内设置有与环形槽和第一水口相连通的第一过水管道,压紧螺母内设置有与环形槽和第二水口相连通的第二过水管道;本实用新型能够有效的降低枯饼的温度,改善枯饼的成形状况,提高原料的利用率。


