授权公布号:CN216785098U
双斗式输送机
有效
申请
2022-03-16
申请公布
1970-01-01
授权
2022-06-21
预估到期
2032-03-16
| 申请号 | CN202220577299.7 |
| 申请日 | 2022-03-16 |
| 授权公布号 | CN216785098U |
| 授权公告日 | 2022-06-21 |
| 分类号 | B65G65/46 |
| 分类 | 输送;包装;贮存;搬运薄的或细丝状材料; |
| 申请人名称 | 四川广鑫粮油机械制造有限公司 |
| 申请人地址 | 四川省绵阳市安州区花荄工业园区(一环路南段) |
专利法律状态
2022-06-21
授权
状态信息
授权
摘要
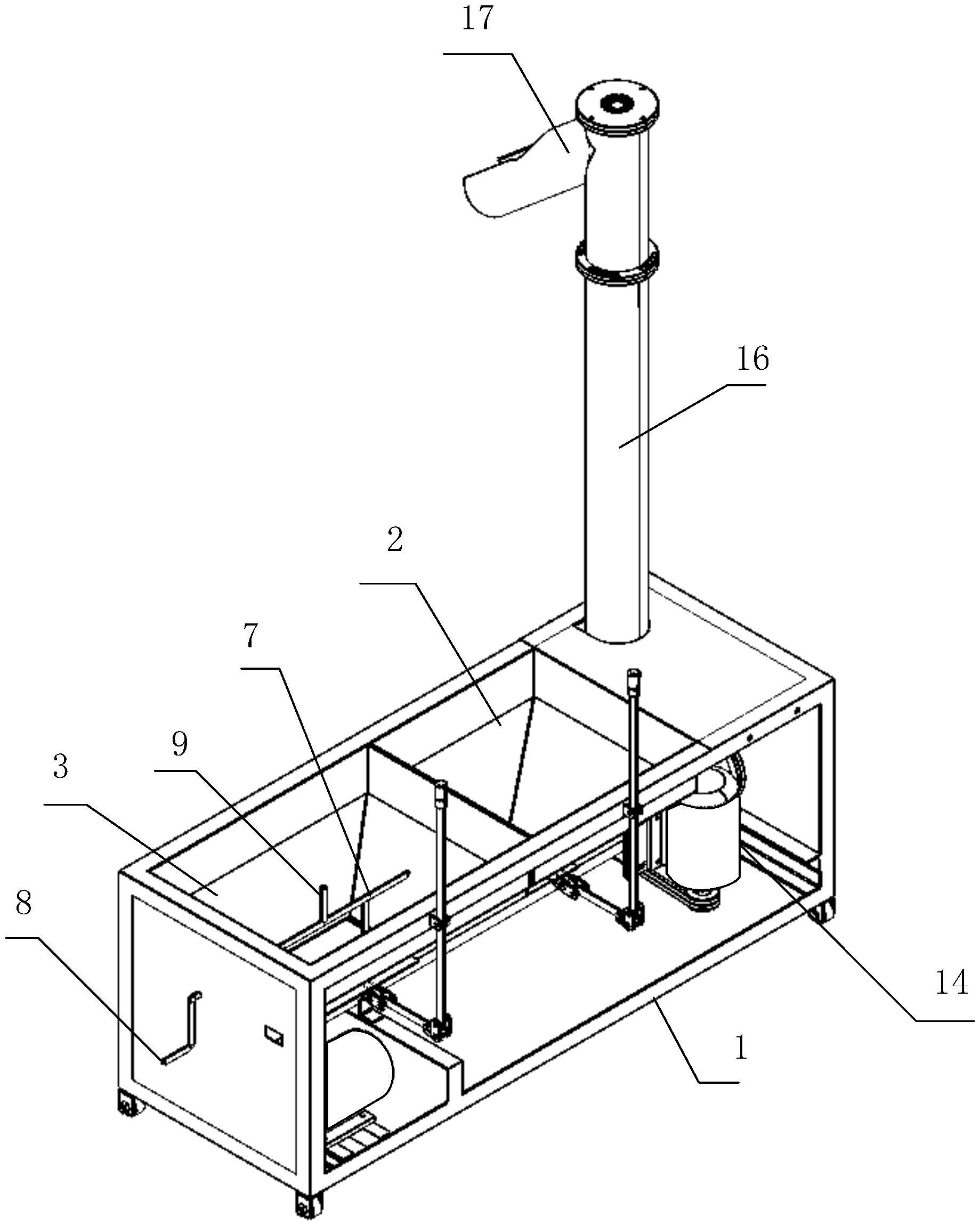
本实用新型公开了一种双斗式输送机,包括:机架,其上设置有用于盛装油料的第一料斗、以及用于盛装油料和/或油饼的第二料斗;设置在第一料斗、第二料斗的输出端,以将油料和/或油饼进行水平传输的水平传输机构;与水平传输机构相配合,以将油料和/或油饼输出至榨油机进料口的垂直传输组件;其中,所述第二料斗内设置有对油饼进行强制输出的搅料机构。本实用新型提供一种双斗式输送机,通过对双斗式输送机的结构设计,使得其物料传输的体量更大,可以与不同压榨方式的榨油机相配合,完成对油料和/或油饼的输送,使得物料输送与连续压榨相配合,具有更好的适应性。


