授权公布号:CN218142518U
一种半自动封口装置
有效
申请
2022-07-20
申请公布
1970-01-01
授权
2022-12-27
预估到期
2032-07-20
| 申请号 | CN202221890291.2 |
| 申请日 | 2022-07-20 |
| 授权公布号 | CN218142518U |
| 授权公告日 | 2022-12-27 |
| 分类号 | B65B51/14 |
| 分类 | 输送;包装;贮存;搬运薄的或细丝状材料; |
| 申请人名称 | 江苏通用科技股份有限公司 |
| 申请人地址 | 江苏省无锡市锡山区东港镇港下 |
专利法律状态
2022-12-27
授权
状态信息
授权
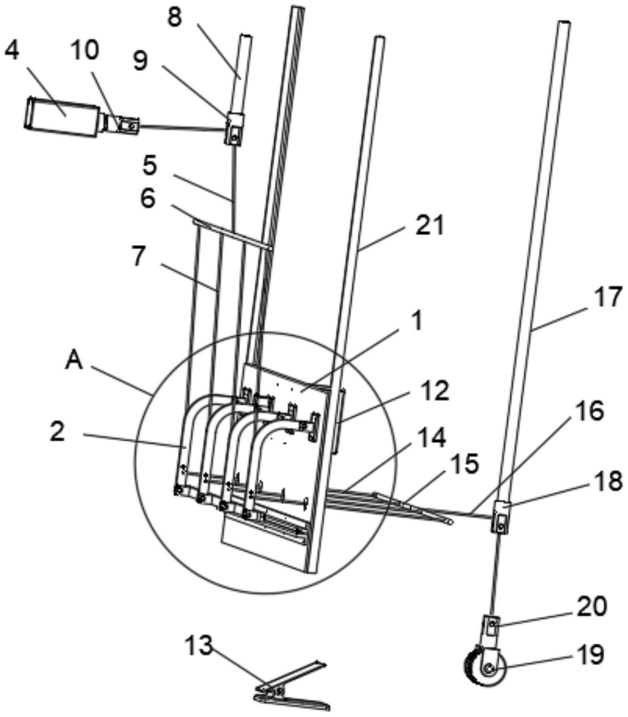
摘要
本发明提供一种半自动封口装置,包括底座、动作连杆、加热丝、驱动件以及配重部;动作连杆活动连接于底座前侧面,具有第一活动位置和第二活动位置;加热丝设置在底座前侧面上;压合部连接于动作连杆,当所述动作连杆处于第一活动位置时,所述压合部与加热丝分离;当所述动作连杆处于第二活动位置时,所述压合部挤压加热丝;驱动件用于拉拽或释放动作连杆;当所述驱动件拉拽动作连杆时,动作连杆向第一活动位置移动;当所述驱动件释放动作连杆时,动作连杆向第二活动位置移动;当所述驱动件释放动作连杆时,所述配重部带动动作连杆定位在第二活动位置;本申请将封口装置化整为零,减小整个装置的横向占用空间。


