授权公布号:CN213853598U
一种用于饲料加工用尘屑回收装置
有效
申请
2020-10-26
申请公布
1970-01-01
授权
2021-08-03
预估到期
2030-10-26
| 申请号 | CN202022409675.5 |
| 申请日 | 2020-10-26 |
| 授权公布号 | CN213853598U |
| 授权公告日 | 2021-08-03 |
| 分类号 | B01D46/10;B01D46/00 |
| 分类 | 一般的物理或化学的方法或装置; |
| 申请人名称 | 广东加大实业有限公司 |
| 申请人地址 | 广东省佛山市南海区狮山工业园内 |
专利法律状态
2021-08-03
授权
状态信息
授权
摘要
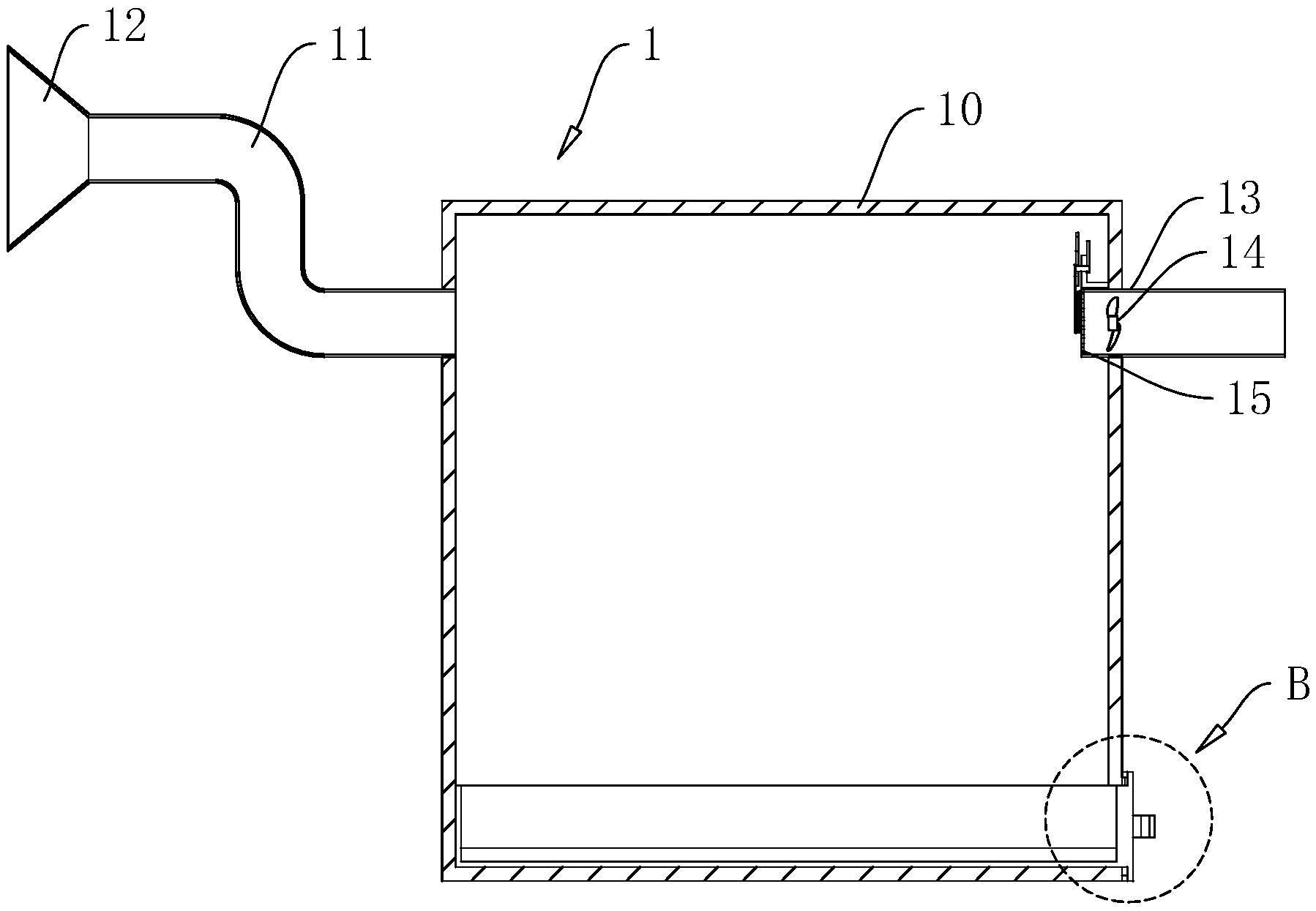
本申请涉及一种用于饲料加工用尘屑回收装置,属于饲料加工的技术领域。其包括碎屑回收机构,碎屑回收机构包括回收箱,所述回收箱的进风端安装有集尘管,所述回收箱的出风端设置有风机组件,所述风机组件的进风端安装有过滤网,所述回收箱的底部可拆卸式安装有收集槽,所述收集槽位于过滤网的下方,所述回收箱内设置有用于清理过滤网的清理装置。本申请方案中的清理装置可以对过滤网附着的灰尘和木屑等进行清理,保证过滤网的通透性,提高回收箱的进风量,进而提高对灰尘以及木屑的收集效果和收集效率,保证对空气的有效净化。


