授权公布号:CN218706211U
一种便于送料的饲料原料传送机
有效
申请
2022-11-02
申请公布
1970-01-01
授权
2023-03-24
预估到期
2032-11-02
| 申请号 | CN202222914784.1 |
| 申请日 | 2022-11-02 |
| 授权公布号 | CN218706211U |
| 授权公告日 | 2023-03-24 |
| 分类号 | B65G19/22;B65G19/20 |
| 分类 | 输送;包装;贮存;搬运薄的或细丝状材料; |
| 申请人名称 | 广东加大实业有限公司 |
| 申请人地址 | 广东省佛山市南海区狮山工业园内 |
专利法律状态
2023-03-24
授权
状态信息
授权
摘要
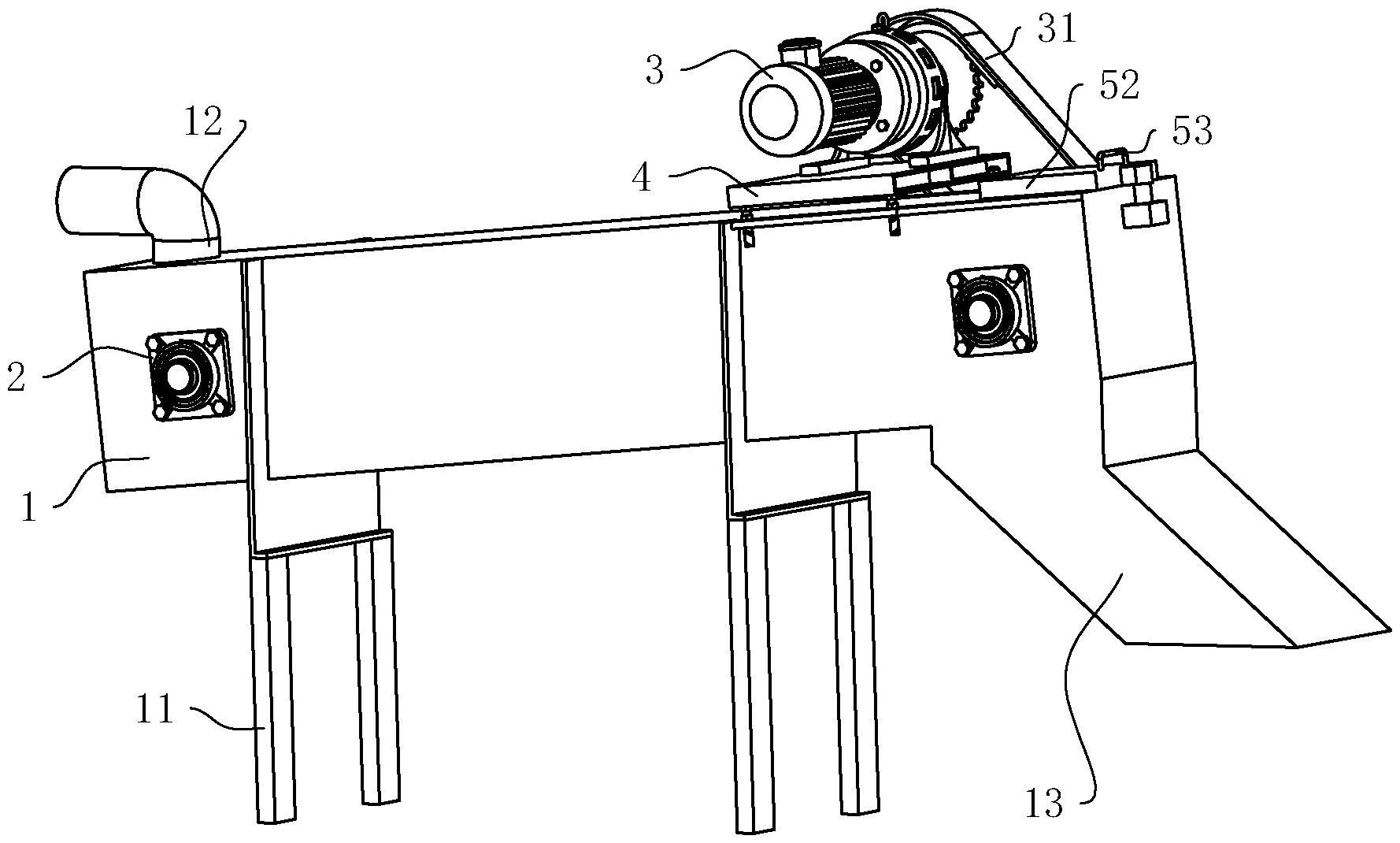
本申请公开了一种便于送料的饲料传送原料机,涉及送料装置领域。一种便于送料的饲料原料传送机,包括具有内腔的外壳,外壳下端设置有支撑外壳的立架,外壳内部设置有链条,链条连接有刮板,刮板用于接触并推送饲料原料,外壳连接有驱动链条转动的驱动组件,外壳开设有进料口和下料斗。本申请具有保持运输过程饲料原料不与外界接触的效果。


