授权公布号:CN213886038U
一种用于饲料加工的配料混合装置
有效
申请
2020-10-26
申请公布
1970-01-01
授权
2021-08-06
预估到期
2030-10-26
| 申请号 | CN202022409671.7 |
| 申请日 | 2020-10-26 |
| 授权公布号 | CN213886038U |
| 授权公告日 | 2021-08-06 |
| 分类号 | B01F15/00;B01F7/20;A23N17/00 |
| 分类 | 一般的物理或化学的方法或装置; |
| 申请人名称 | 广东加大实业有限公司 |
| 申请人地址 | 广东省佛山市南海区狮山工业园内 |
专利法律状态
2021-08-06
授权
状态信息
授权
摘要
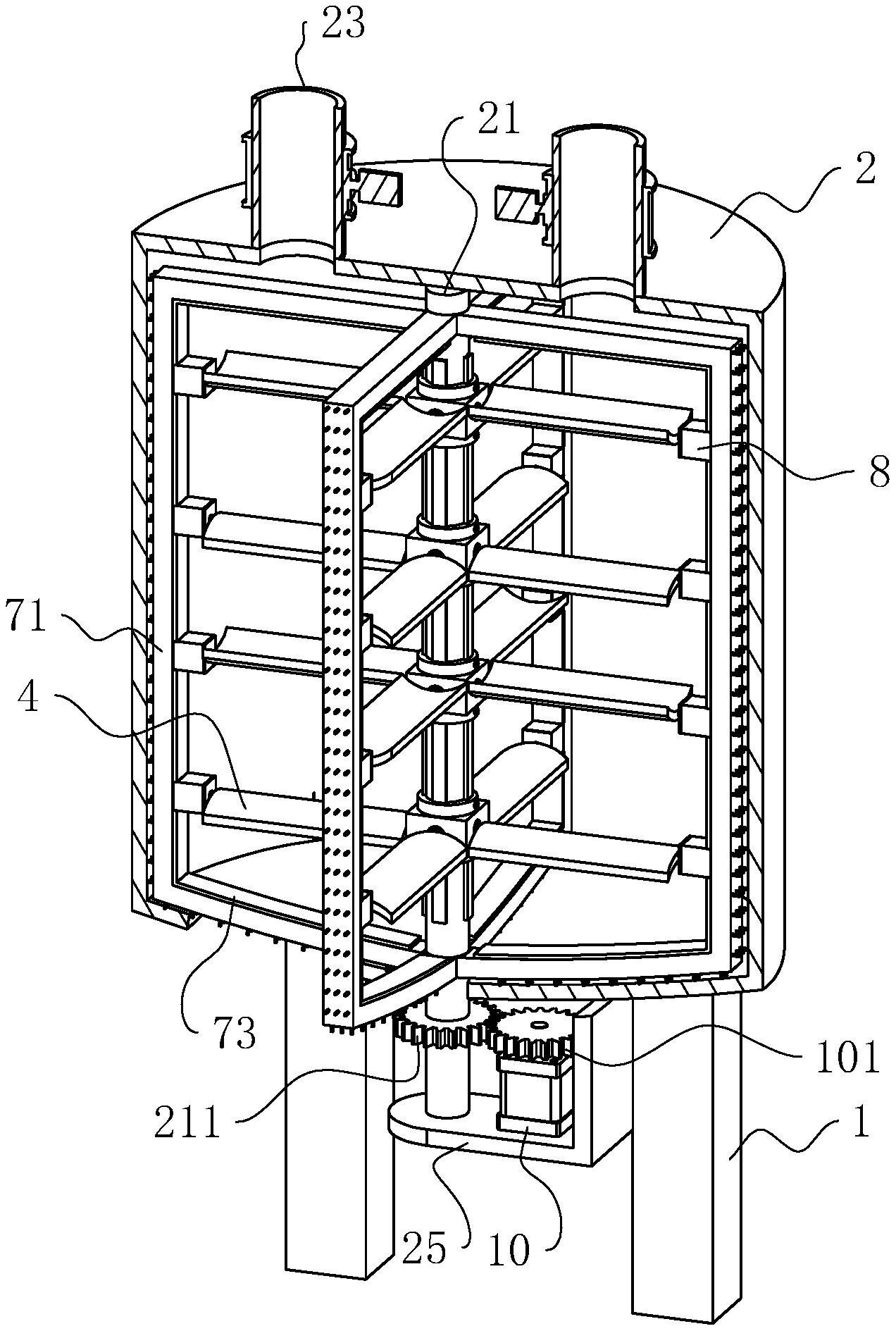
本申请涉及饲料加工设备的技术领域,尤其是涉及一种用于饲料加工的配料混合装置,其包括机架以及设置于所述机架上的混料筒,还包括设置于所述混料筒内用于对原料进行搅拌的搅拌机构,所述搅拌机构包括竖向转动设置于所述混料筒内的转轴以及设置于所述转轴上的搅拌叶组件,所述转轴上还设置有用于将粘附于所述混料筒内壁上的原料刮落的刮料组件以及用于驱动所述转轴转动的动力组件。本申请能够将原料混合均匀的同时,也减少了原料粘附于混料筒内壁上导致影响搅拌效果的情况发生,保证了搅拌效率的同时,也提高了工作人员的工作效率。


