授权公布号:CN101879634B
金刚石分齿烧结锯片成型装置
有效
申请
2010-06-21
申请公布
2010-11-10
授权
2012-07-04
预估到期
2030-06-21
| 申请号 | CN201010211732.7 |
| 申请日 | 2010-06-21 |
| 申请公布号 | CN101879634A |
| 申请公布日 | 2010-11-10 |
| 授权公布号 | CN101879634B |
| 授权公告日 | 2012-07-04 |
| 分类号 | B23D65/00 |
| 分类 | 机床;不包含在其他类目中的金属加工; |
| 申请人名称 | 晶日金刚石工业有限公司 |
| 申请人地址 | 河北省三河市燕郊开发区东环路9号 |
专利法律状态
2012-07-04
授权
状态信息
授权
2010-12-22
实质审查的生效
状态信息
实质审查的生效IPC(主分类):B23D 65/00申请日:20100621
2010-11-10
公布
状态信息
公开
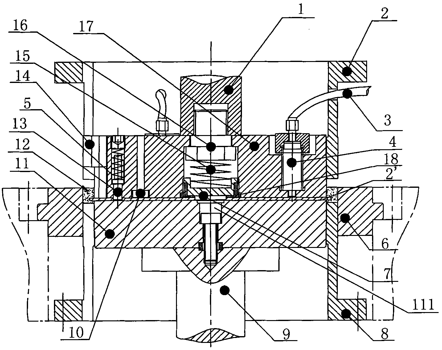
摘要
一种金刚石分齿烧结锯片成型装置,包括:上压头:其侧壁设有与分齿锯片相邻刀头间的各豁口一一对应的上分齿缝;基体定位装置,其包括上端连接上液压缸的上模芯,其设置有与基体中孔、冷却孔分别对应匹配的中间定位装置、定位机构,吸住基体的磁铁,从上模芯顶下分齿锯片的驱动装置;上模芯外壁固设导向块,其与上压头分齿缝滑动配合;下模芯,其位于上模芯正下方,与上模芯对应;下压头:其侧壁上设有与分齿锯片相邻刀头间的各豁口一一对应的下分齿缝;下压头环套于下模芯,下压头的顶面低于下模芯的顶面;外套:其内壁设有与下压头下分齿缝一一对应的凸齿;其插套于下压头,凸齿高出下压头顶面。其提高效率、降低模具和人工成本及降低劳动强度。


