授权公布号:CN215139664U
一种六面顶压机销轴用重力自动顶出装置
有效
申请
2021-07-13
申请公布
1970-01-01
授权
2021-12-14
预估到期
2031-07-13
| 申请号 | CN202121587516.2 |
| 申请日 | 2021-07-13 |
| 授权公布号 | CN215139664U |
| 授权公告日 | 2021-12-14 |
| 分类号 | B01J3/06 |
| 分类 | 一般的物理或化学的方法或装置; |
| 申请人名称 | 山东昌润钻石股份有限公司 |
| 申请人地址 | 山东省聊城市卫育北路45号 |
专利法律状态
2021-12-14
授权
状态信息
授权
摘要
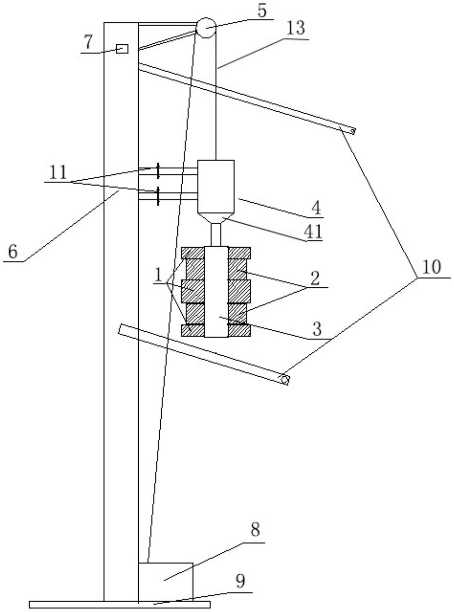
本实用新型公开了一种六面顶压机销轴用重力自动顶出装置,包括底座、导轨、卷扬机、重力锤,导轨与底座呈垂直固定连接,导轨上端通过支撑架安装有导轮,导轨两侧安装有连接杆,通过连接杆把六面顶压机销轴用重力自动顶出装置与六面顶压机连接,卷扬机安装在底座上,重力锤与卷扬机之间连接有钢丝绳,钢丝绳绕过导轮与重力锤顶端连接,导轨内安装有滑动组件,轴承架伸出导轨的一端通过法兰盘与重力锤连接,导轨上设有行程感应开关,行程感应开关与卷扬机之间电连接,行程感应开关能感应到重力锤的运动位置,本实用结构简单,易操作,提高工作效率,节约了成本,拆装方便,适合不同型号的六面顶压机。


