授权公布号:CN207839404U
金刚石合成芯柱用吹料装置
有效
申请
2017-12-25
申请公布
1970-01-01
授权
2018-09-11
预估到期
2027-12-25
| 申请号 | CN201721828396.4 |
| 申请日 | 2017-12-25 |
| 授权公布号 | CN207839404U |
| 授权公告日 | 2018-09-11 |
| 分类号 | B07B4/02;B07B1/44;B07B9/00;C01B32/28 |
| 分类 | 将固体从固体中分离;分选; |
| 申请人名称 | 山东昌润钻石股份有限公司 |
| 申请人地址 | 山东省聊城市卫育北路45号 |
专利法律状态
2018-09-11
授权
状态信息
授权
摘要
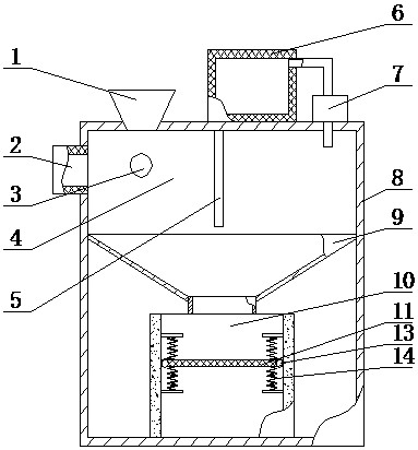
金刚石合成芯柱用吹料装置,包括外壁,外壁的内侧中部安装漏斗式隔板,漏斗式隔板为倒置的锥型壳体,漏斗式隔板的尖部朝下,漏斗式隔板的尖部具有开口,外壁的上部安装石英砂漏斗,本实用新型的优点是确保在合成芯柱上能够观察、分析出金刚石生长情况金刚石表面的金属薄膜和石墨被吹掉,并能够及时调整异常因素,提高金刚石产品合格率,并且在此基础上能够有效的减少工作过程中产生的粉尘污染,提高生产安全性,降低金刚石、金属粉和石墨粉的回收成本,提高金刚石、金属和石墨的回收率,增加金刚石的生产效益。


