授权公布号:CN215945591U
一种罐体加料防溢料装置
有效
申请
2021-05-20
申请公布
1970-01-01
授权
2022-03-04
预估到期
2031-05-20
| 申请号 | CN202121094457.5 |
| 申请日 | 2021-05-20 |
| 授权公布号 | CN215945591U |
| 授权公告日 | 2022-03-04 |
| 分类号 | B65D90/26;B65D90/48;B65D90/00 |
| 分类 | 输送;包装;贮存;搬运薄的或细丝状材料; |
| 申请人名称 | 奎克化学(中国)有限公司 |
| 申请人地址 | 上海市青浦区天盈路619号 |
专利法律状态
2022-03-04
授权
状态信息
授权
摘要
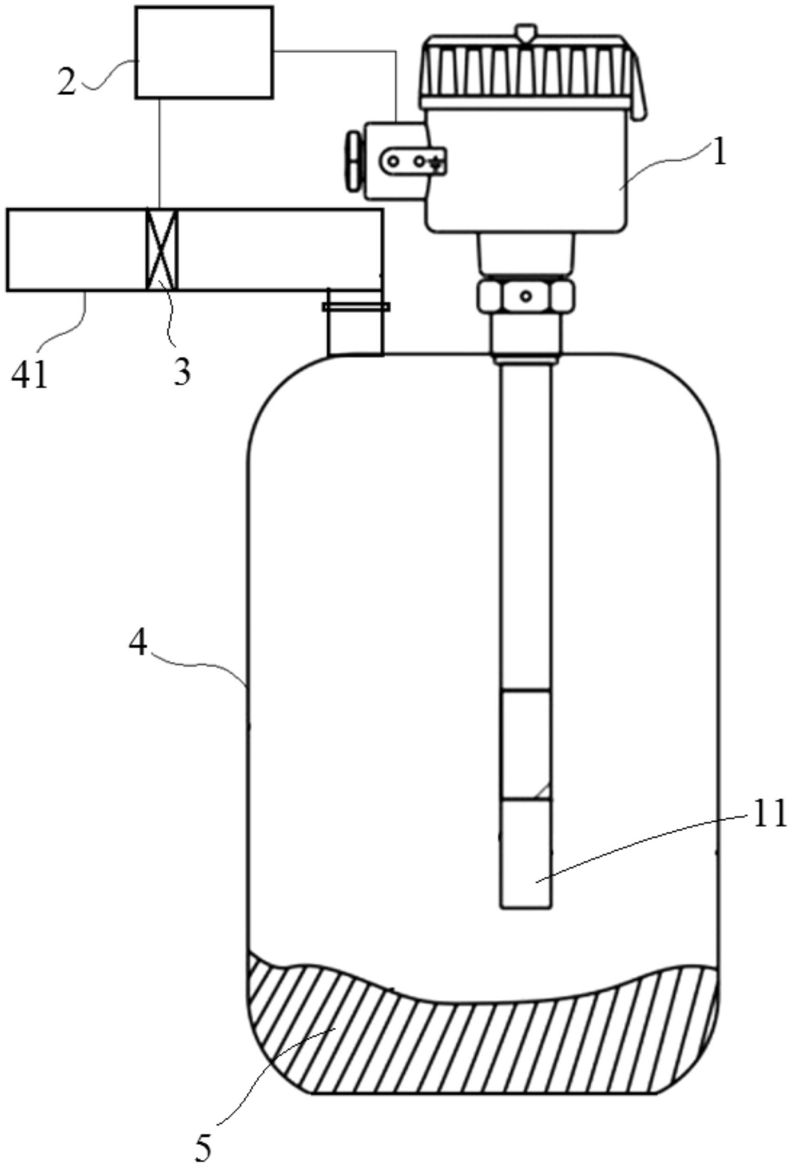
本实用新型公开了一种罐体加料防溢料装置,包括静电容式液位开关、控制器和电磁阀,所述静电容式液位开关设置在罐体上,且所述静电容式液位开关的探头位于所述罐体内;所述电磁阀设置在罐体的加料管道上;所述静电容式液位开关和电磁阀分别与所述控制器电连接。本实用新型的罐体加料防溢料装置,能够监测罐体内加料的液位高度,防止加料溢出的风险。


