授权公布号:CN108655083B
一种喷雾型清洗机
有效
申请
2018-08-06
申请公布
2018-10-16
授权
2024-03-12
预估到期
2038-08-06
| 申请号 | CN201810883056.4 |
| 申请日 | 2018-08-06 |
| 申请公布号 | CN108655083A |
| 申请公布日 | 2018-10-16 |
| 授权公布号 | CN108655083B |
| 授权公告日 | 2024-03-12 |
| 分类号 | B08B3/02;B08B3/08;B08B3/10 |
| 分类 | 清洁; |
| 申请人名称 | 奎克化学(中国)有限公司 |
| 申请人地址 | 上海市青浦区天盈路619号 |
专利法律状态
2024-03-12
授权
状态信息
授权
2018-11-09
实质审查的生效
状态信息
实质审查的生效;IPC(主分类):B08B3/02;申请日:20180806
2018-10-16
公布
状态信息
公布
摘要
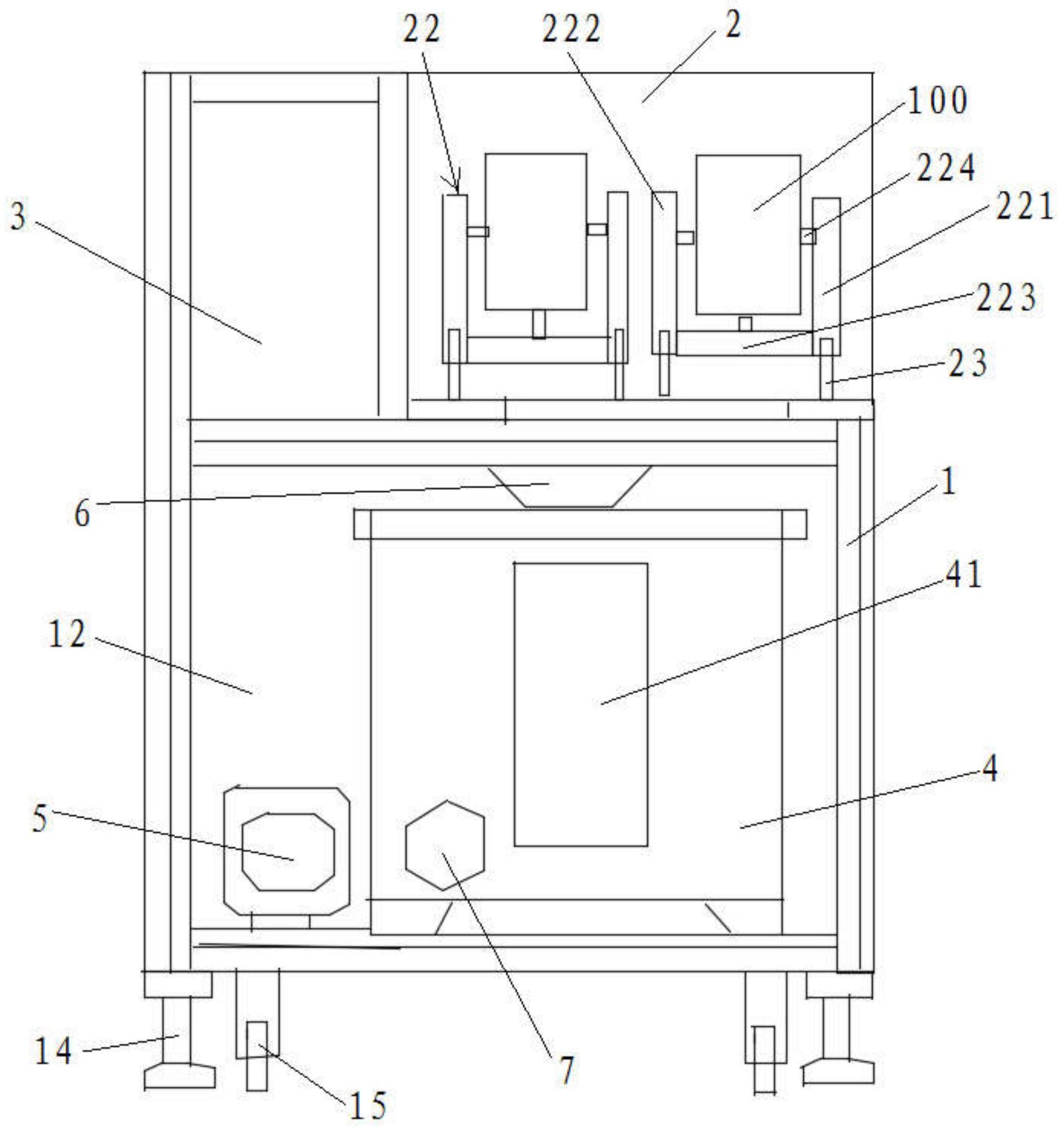
本发明公开了一种喷雾型清洗机,包括机架、清洗箱、控制箱、清洗液存储箱、油泵电机、液体回收槽和加热器,所述机架由横向设置的平台分为上下两部分;所述清洗箱和控制箱一前一后地设置在所述机架的上部分;所述清洗液存储箱和油泵电机一前一后地设置在所述机架的下部分;所述液体回收槽设置在所述清洗液存储箱的顶端;所述加热器设置在所述清洗液存储箱内;所述清洗箱内设置有漏液孔、四个夹具固定螺杆和六对雾化喷嘴。本发明的喷雾型清洗机,采用半自动化操作,具备喷雾涂装功能,可以同时把固定在夹具上钢板双面通过雾化喷嘴涂覆相对均匀的雾状膜。


