授权公布号:CN215946584U
一种易操作式气动压盖器
有效
申请
2021-05-20
申请公布
1970-01-01
授权
2022-03-04
预估到期
2031-05-20
| 申请号 | CN202121084833.2 |
| 申请日 | 2021-05-20 |
| 授权公布号 | CN215946584U |
| 授权公告日 | 2022-03-04 |
| 分类号 | B66C25/00;B66C1/10 |
| 分类 | 卷扬;提升;牵引; |
| 申请人名称 | 奎克化学(中国)有限公司 |
| 申请人地址 | 上海市青浦区天盈路619号 |
专利法律状态
2022-03-04
授权
状态信息
授权
摘要
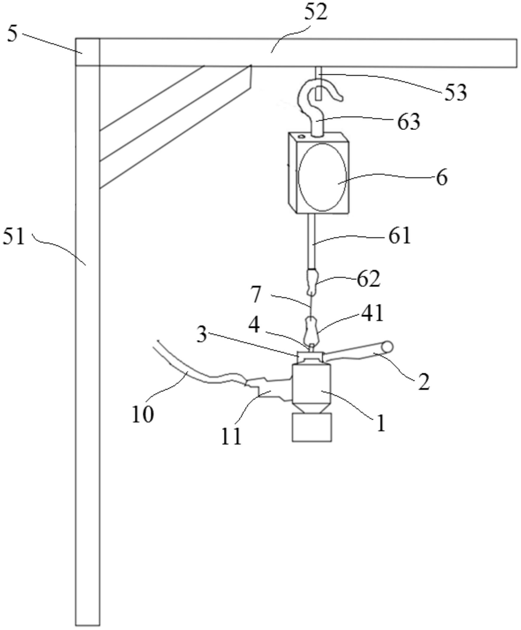
本实用新型公开了一种易操作式气动压盖器,包括气动压盖器本体、辅助手柄、支架、吊环、葫芦安装架和钢丝绳葫芦;气动压盖器本体上具有一个手柄;支架包括顶板和两个侧板,所述两个侧板相对设置,所述顶板封堵在所述两个侧板之间的端开口,所述支架的两个侧板的底端焊接在所述气动压盖器本体的顶端;所述吊环设置在所述支架的顶板的顶端;所述辅助手柄与所述支架的一个侧板相连,且所述辅助手柄和手柄分设在所述气动压盖器本体的径向两侧;所述钢丝绳葫芦设置在所述葫芦安装架上;所述钢丝绳葫芦内的钢丝绳与所述吊环相连。本实用新型的易操作式气动压盖器,加装吊环及辅助手柄,挂在钢丝绳葫芦上,现场操作更便捷,大大提高了生产效率。


