授权公布号:CN215478414U
一种翻桶车
有效
申请
2021-05-20
申请公布
1970-01-01
授权
2022-01-11
预估到期
2031-05-20
| 申请号 | CN202121092887.3 |
| 申请日 | 2021-05-20 |
| 授权公布号 | CN215478414U |
| 授权公告日 | 2022-01-11 |
| 分类号 | B65G65/24 |
| 分类 | 输送;包装;贮存;搬运薄的或细丝状材料; |
| 申请人名称 | 奎克化学(中国)有限公司 |
| 申请人地址 | 上海市青浦区天盈路619号 |
专利法律状态
2022-01-11
授权
状态信息
授权
摘要
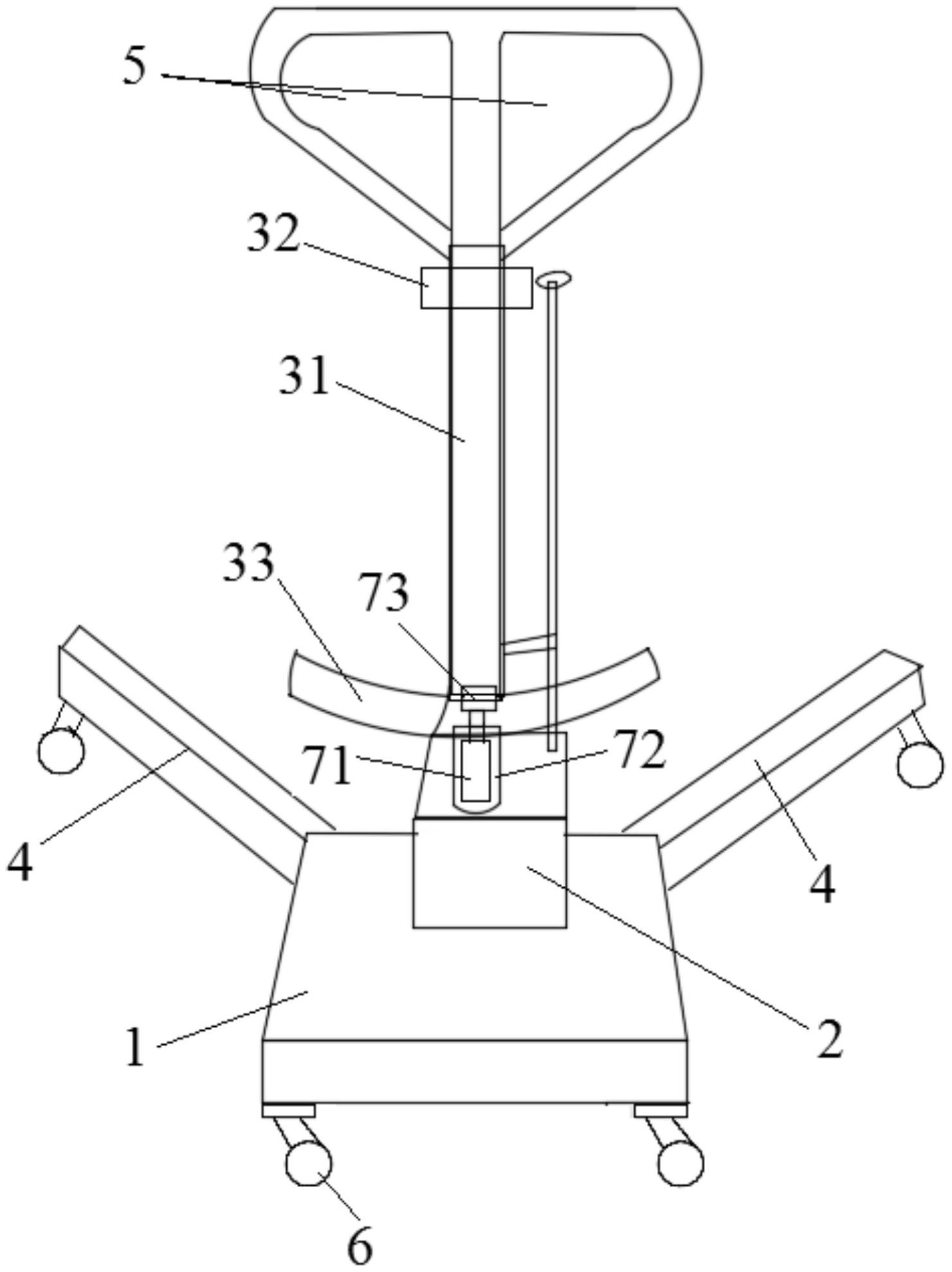
本实用新型公开了一种翻桶车,包括底座、垫高块、倾倒装置和两个支脚,所述垫高块设置在所述底座上;所述两个支脚一左一右地固定在所述底座的前端,所述两个支脚呈八字形倾斜设置,且两个支脚之间的后端开口小于前端开口;所述倾倒装置设置在所述垫高块上;所述倾倒装置包括活动安装在垫高块上的支架,所述支架的上部设置有把手,所述支架的中部设置有料桶夹头,所述支架的下部设置有料桶箍圈;所述底座的底端均布有若干滚轮,所述两个支脚的下表面的前端分别设置有一个滚轮。本实用新型的翻桶车,结构简单,将翻桶支架加高满足操作,大大提高工作效率。


