授权公布号:CN215939836U
一种调和釜底阀联锁装置
有效
申请
2021-05-20
申请公布
1970-01-01
授权
2022-03-04
预估到期
2031-05-20
| 申请号 | CN202121094427.4 |
| 申请日 | 2021-05-20 |
| 授权公布号 | CN215939836U |
| 授权公告日 | 2022-03-04 |
| 分类号 | B01F35/22;B01F35/71;B01F35/75 |
| 分类 | 一般的物理或化学的方法或装置; |
| 申请人名称 | 奎克化学(中国)有限公司 |
| 申请人地址 | 上海市青浦区天盈路619号 |
专利法律状态
2022-03-04
授权
状态信息
授权
摘要
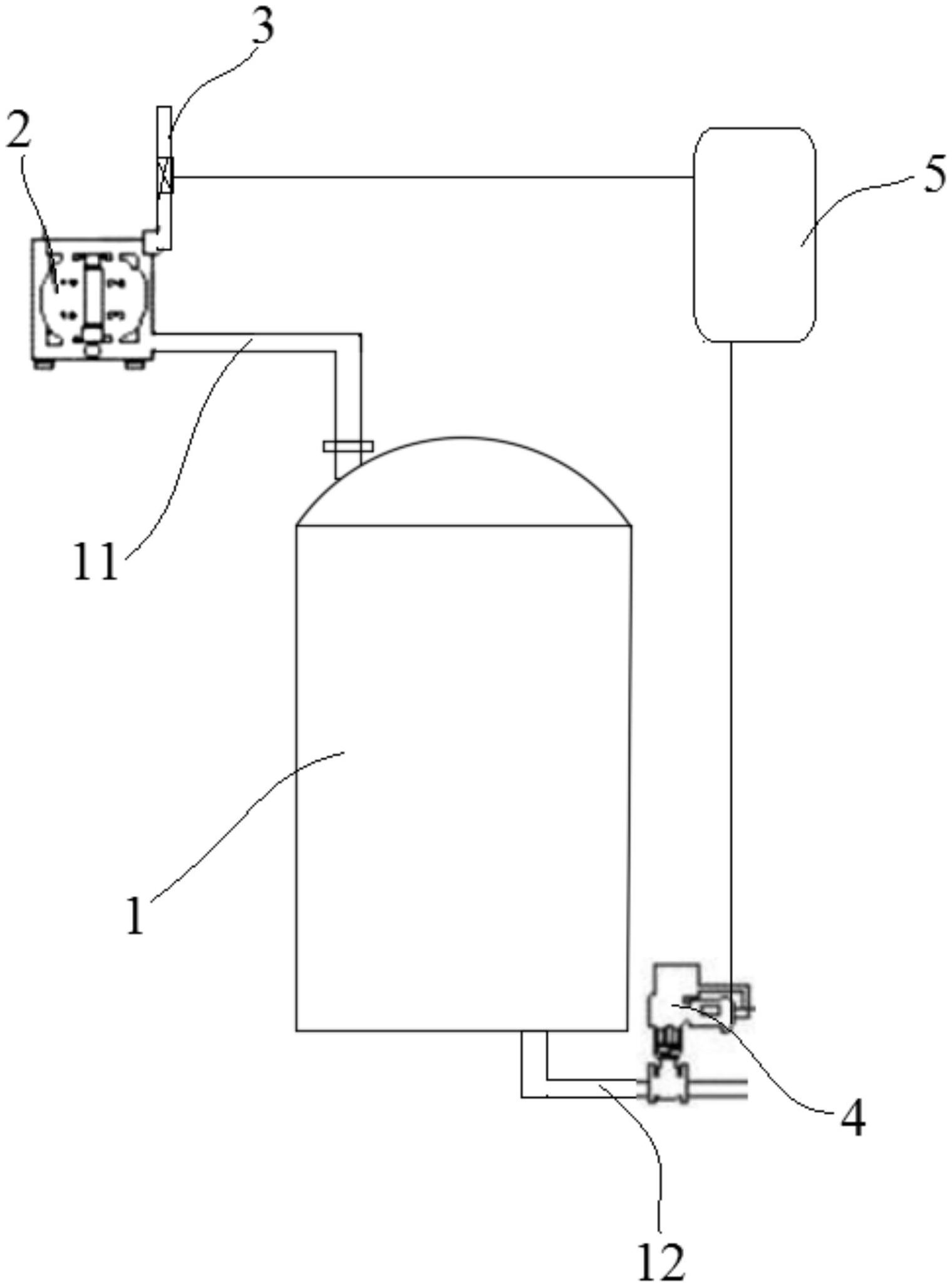
本实用新型公开了一种调和釜底阀联锁装置,包括进料隔膜泵、气源切断电磁阀、底阀和控制器,所述进料隔膜泵设置在调和釜的进料管道上;所述底阀设置在调和釜的出料管道上;所述进料隔膜泵通过气源管道外接气源;所述气源切断电磁阀设置在所述气源管道上;所述气源切断电磁阀和底阀分别与所述控制器电连接。本实用新型的调和釜底阀联锁装置,确保了在调和釜底阀开的状态下进料隔膜泵无法加料,保证了安全生产。


