授权公布号:CN212819993U
一种清洗液恒温循环水浴箱
有效
申请
2020-05-12
申请公布
1970-01-01
授权
2021-03-30
预估到期
2030-05-12
| 申请号 | CN202020773963.6 |
| 申请日 | 2020-05-12 |
| 授权公布号 | CN212819993U |
| 授权公告日 | 2021-03-30 |
| 分类号 | B01L7/02 |
| 分类 | 一般的物理或化学的方法或装置; |
| 申请人名称 | 常州海纳环保科技有限公司 |
| 申请人地址 | 江苏省常州市武进区横山桥集中区星辰路27号 |
专利法律状态
2021-03-30
授权
状态信息
授权
摘要
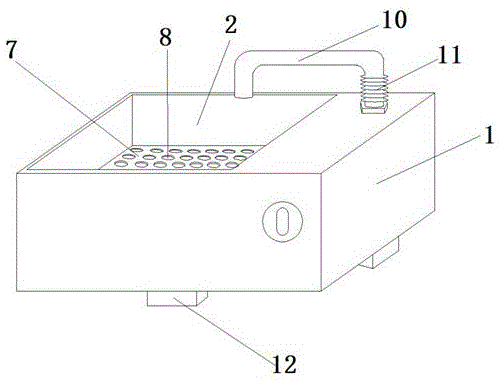
本实用新型公开了一种清洗液恒温循环水浴箱,包括箱体,所述箱体分为观察槽和循环槽;所述观察槽与所述循环槽之间通过疏水孔连通,所述疏水孔紧贴所述观察槽和所述循环槽底部;所述观察槽内设置有加热管,所述加热管呈U型,固定于所述观察槽侧壁;还包括限位块,所述限位块对称设置于所述观察槽侧壁中间段;还包括隔板,所述隔板上分布有通孔,放置于所述限位块上;本实用新型使用起来简单方便,通过改变箱体不同的结构来调整测试变量,为最终产品的生产环节提供了准确的生产数据。


