授权公布号:CN207042978U
一种封罐后罐子清洗吹干装置
有效
申请
2017-03-18
申请公布
1970-01-01
授权
2018-02-27
预估到期
2027-03-18
| 申请号 | CN201720264609.9 |
| 申请日 | 2017-03-18 |
| 授权公布号 | CN207042978U |
| 授权公告日 | 2018-02-27 |
| 分类号 | B08B9/28;F26B21/00 |
| 分类 | 清洁; |
| 申请人名称 | 广州市泰奇食品有限公司 |
| 申请人地址 | 广东省广州市广州经济技术开发区永和经济区斗塘路20号 |
专利法律状态
2018-02-27
授权
状态信息
授权
摘要
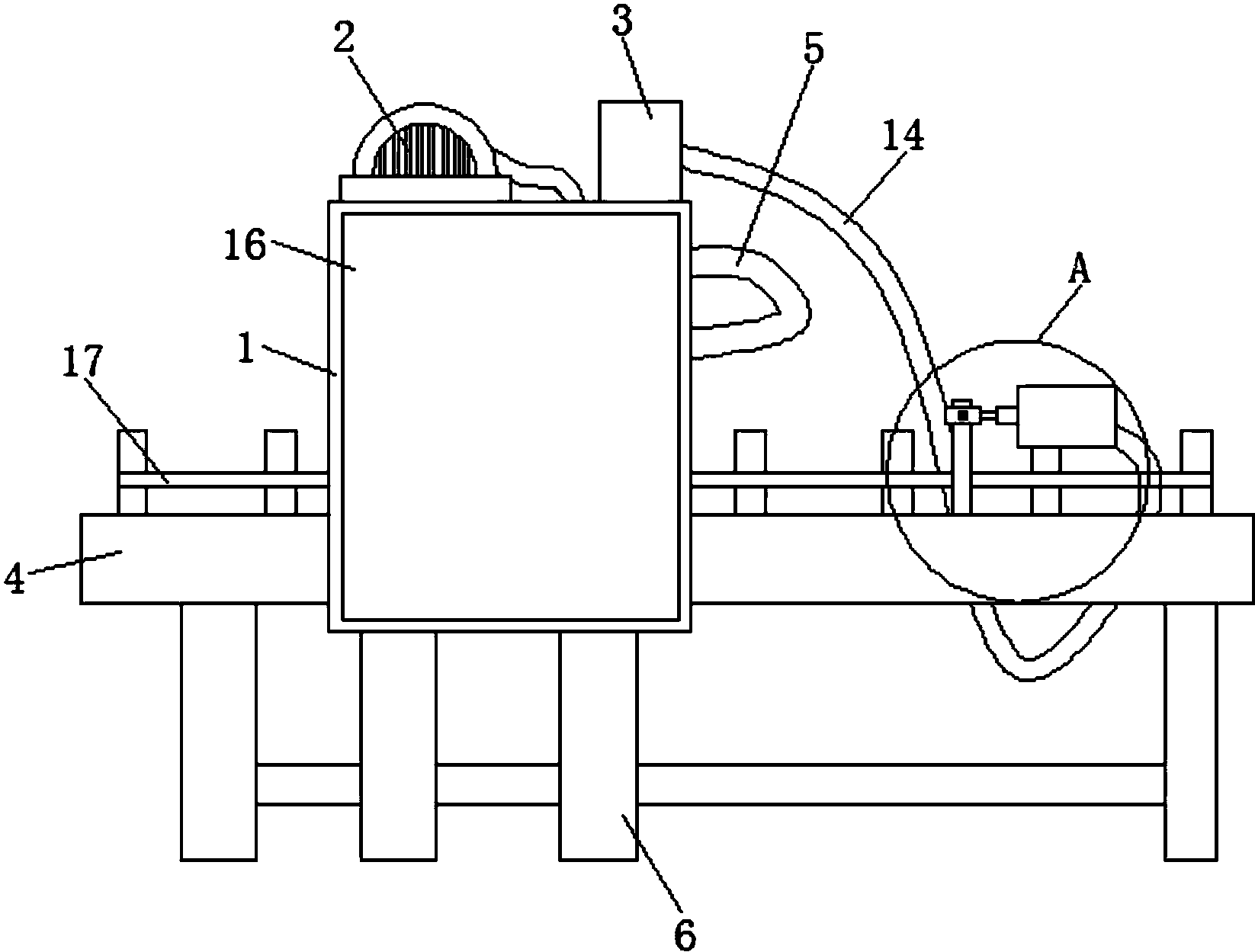
本实用新型公开了一种封罐后罐子清洗吹干装置,包括清洗罩,清洗罩顶部固定连接有清洗箱,清洗罩顶部靠近清洗箱的右侧固定连接有暖风机,清洗罩的正下方设置有运输机构,清洗箱的外表面设置有清洗管,且清洗管的一端位于清洗罩的内部,运输机构和清洗罩的底部均固定连接有支撑腿,运输机构的顶部固定连接有支撑杆,支撑杆的外表面开设有螺槽,支撑杆远离运输机构的一端设置有固定环,固定环的外表面设置有螺钉,固定环的外表面固定连接有螺杆,螺杆远离固定环的一端设置有螺套,且螺杆的外表面与螺套的内壁螺纹连接。本实用新型,使其整体有效的吹干封盖顶部的水珠,不影响喷码效果,实用价值高,能够满足用户的需求。


