授权公布号:CN215787430U
一种灌装食品加工用新型真空打标机
有效
申请
2021-07-05
申请公布
1970-01-01
授权
2022-02-11
预估到期
2031-07-05
| 申请号 | CN202121516085.0 |
| 申请日 | 2021-07-05 |
| 授权公布号 | CN215787430U |
| 授权公告日 | 2022-02-11 |
| 分类号 | B23K26/02;B23K26/70;B23K26/16;B23K26/362 |
| 分类 | 机床;不包含在其他类目中的金属加工; |
| 申请人名称 | 广州市泰奇食品有限公司 |
| 申请人地址 | 广东省广州市经济技术开发区永和经济区斗塘路20号 |
专利法律状态
2022-02-11
授权
状态信息
授权
摘要
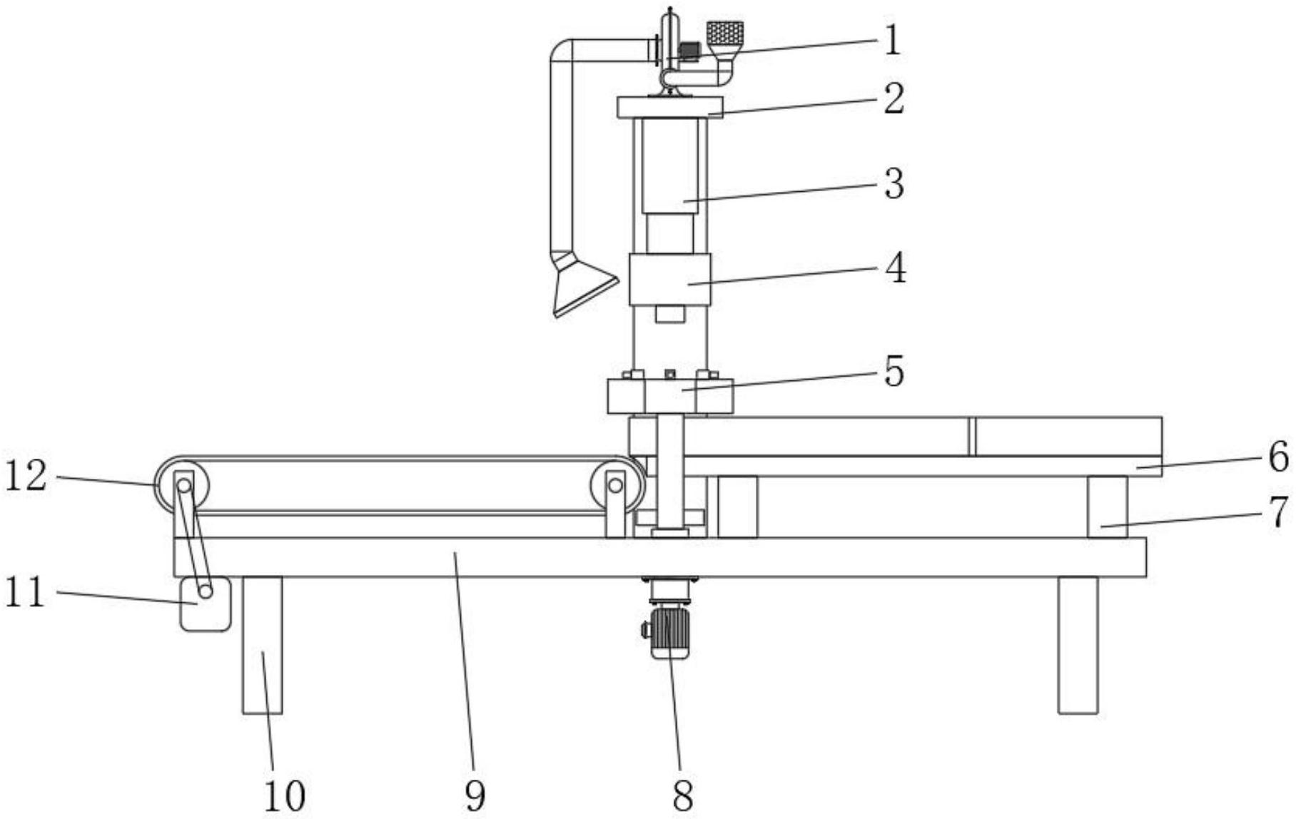
本实用新型公开了一种灌装食品加工用新型真空打标机,包括激光器、卡盘和操作台,所述操作台顶端靠近后表面位置处安装有安装架,所述安装架顶端安装有风机,所述安装架底端中间位置处安装有液压缸,所述液压缸输出端安装有激光器,所述操作台顶端位于激光器下方位置处安装有转轴,所述转轴外表面靠近底端位置处套接有传动齿轮,所述转轴顶端安装有卡盘,所述卡盘顶端安装有触碰开关,所述操作台顶端一侧安装有输送带。本实用新型能够自动完成食品罐的夹取、定位打标以及输送,提高了打标效率的同时避免发生打标位置发生跑偏,且能够将激光打标的过程中产生的有害难闻气体进行吸收和净化,避免工作人员吸入造成身体伤害。


