授权公布号:CN213051430U
一种震动筛吹料装置
有效
申请
2020-07-21
申请公布
1970-01-01
授权
2021-04-27
预估到期
2030-07-21
| 申请号 | CN202021445587.4 |
| 申请日 | 2020-07-21 |
| 授权公布号 | CN213051430U |
| 授权公告日 | 2021-04-27 |
| 分类号 | B07B1/28;B07B1/46;B65B57/00 |
| 分类 | 将固体从固体中分离;分选; |
| 申请人名称 | 苏州口水娃食品有限公司 |
| 申请人地址 | 江苏省苏州市太仓市双凤镇新湖区建业路6号 |
专利法律状态
2021-04-27
授权
状态信息
授权
摘要
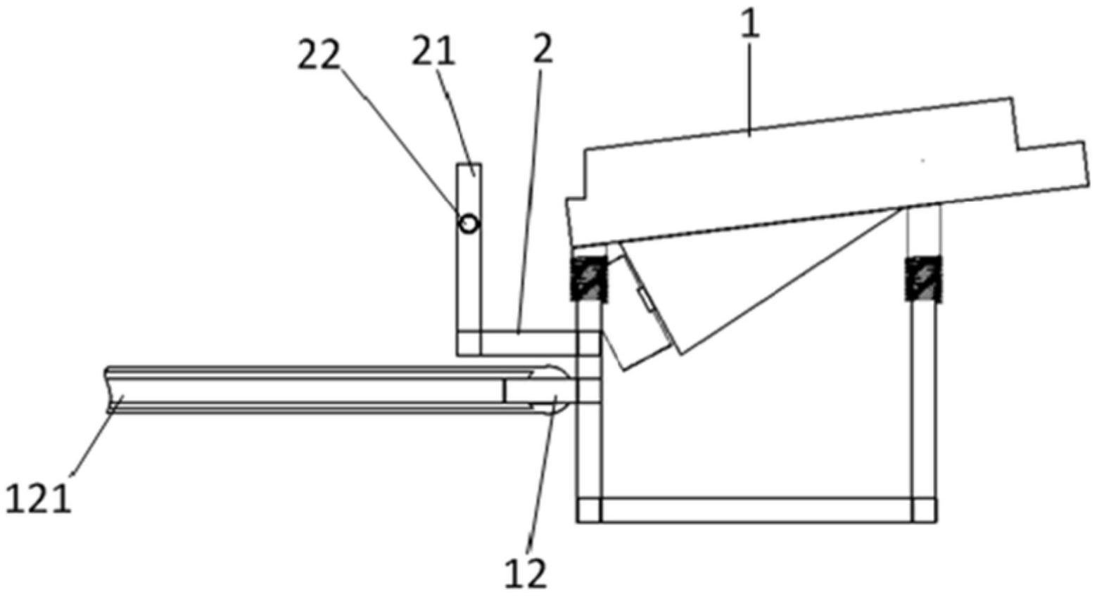
一种震动筛吹料装置,包括震动筛和传输装置,震动筛上表面设有落料孔,震动筛下方分别设有第一固定架和第二固定架,传输装置与第一固定架相互固定连接,第二固定架端部两侧对称设有支撑杆,支撑杆内侧表面对称设有转轴,转轴整体为中空结构,其相互之间之间设有吹风管,支撑杆外侧表面设有气泵连接口;本申请通过震动筛对已完成包装的小型包装食品进行震动落料,通过震动筛对小型食品包装袋产生振幅,使其内部的食品被抖落出来并掉入落料孔内,并通过吹风管所产生的风压可将包装袋吹回至震动筛上,达到了提高作业效率,节约劳动成本的有益效果。


