授权公布号:CN207692349U
一种播种用风机
有效
申请
2017-12-29
申请公布
1970-01-01
授权
2018-08-07
预估到期
2027-12-29
| 申请号 | CN201721896168.0 |
| 申请日 | 2017-12-29 |
| 授权公布号 | CN207692349U |
| 授权公告日 | 2018-08-07 |
| 分类号 | A01C7/20 |
| 分类 | 农业;林业;畜牧业;狩猎;诱捕;捕鱼; |
| 申请人名称 | 山东大华机械有限公司 |
| 申请人地址 | 山东省济宁市兖州区经济开发区兴阳路路南 |
专利法律状态
2018-08-07
授权
状态信息
授权
摘要
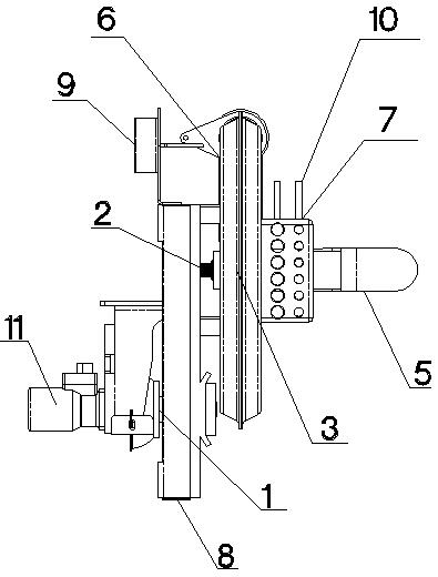
本实用新型公开了一种播种用风机,它包括固定架,所述固定架的下部设有主动轮,所述固定架的上部设有被动轮,所述主动轮通过液压马达带动旋转且所述主动轮与被动轮之间通过皮带连接,所述被动轮的主轴上同轴的带动涡轮伞顺时针旋转,所述涡轮伞的两侧分别同轴的设有涡轮盖,两所述涡轮盖的上部设有出气口,所述出气口与一主气管的上接口连接,右侧的所述涡轮盖外壁上设有分流气腔盒,所述分流气腔盒的中部与所述主气管的下接口连接,所述分流气腔盒的前后两侧分别设有若干排气口,旋转风通过所述分流气腔盒两侧的若干排气口分流后进入相应的排种器内,所述分流气腔盒的上部还设有与正、负压力表分别连接的检测出气口;采用上述结构,实现控制排种速度、深度和均匀度的效果。


