授权公布号:CN220418304U
一种可调式弹簧定长测量辅具
有效
申请
2022-01-27
申请公布
1970-01-01
授权
2024-01-30
预估到期
2032-01-27
| 申请号 | CN202220224402.X |
| 申请日 | 2022-01-27 |
| 授权公布号 | CN220418304U |
| 授权公告日 | 2024-01-30 |
| 分类号 | G01B5/02 |
| 分类 | 测量;测试; |
| 申请人名称 | 东风井关农业机械有限公司 |
| 申请人地址 | 湖北省襄阳市襄州国际物流园东风井关大道特1号 |
专利法律状态
2024-01-30
授权
状态信息
授权
摘要
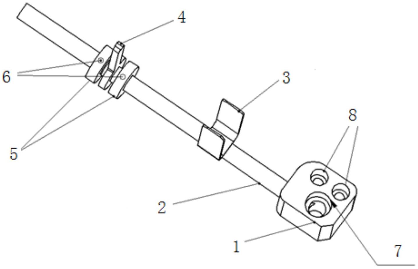
本实用新型涉及农用机械技术领域,公开了一种可调式弹簧定长测量辅具,包括轴杆、两个限位块、测量块、锁紧件。本实用新型具有以下优点和效果:将弹簧一端的销嵌入在块体的定位孔内,皮带张紧机构的张紧臂多是金属材质,块体上的磁铁吸附在张紧机构的张紧臂上,使工作人员不必一直用手扶着轴杆的一端。导正件的两个导正板分别挡在弹簧的两侧,使轴杆与弹簧大致处于平行的位置。两个限位块的位置分别对应弹簧伸长长度的上下极限,比对测量块与弹簧另一端的位置,可快速判定弹簧伸长长度是否在规格范围内。


