授权公布号:CN210695813U
西瓜籽蒸煮去沫装置
有效
申请
2019-08-05
申请公布
1970-01-01
授权
2020-06-09
预估到期
2029-08-05
| 申请号 | CN201921254626.X |
| 申请日 | 2019-08-05 |
| 授权公布号 | CN210695813U |
| 授权公告日 | 2020-06-09 |
| 分类号 | A23L5/10 |
| 分类 | 其他类不包含的食品或食料;及其处理; |
| 申请人名称 | 武汉旭东食品有限公司 |
| 申请人地址 | 湖北省武汉市东西湖区七雄路9号 |
专利法律状态
2020-06-09
授权
状态信息
授权
摘要
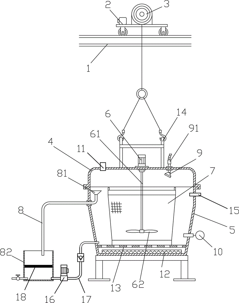
西瓜籽蒸煮去沫装置,包括锅体、锅盖和网桶,在所述锅体内设有孔板,网桶放置在孔板上,在孔板下方锅体内设有电热管,在锅盖上安装有注水管和电机,电机输出轴穿过锅盖与搅拌轴固定连接,在搅拌轴上安装有搅拌桨,在锅盖上安装有蒸汽管,还包括控制装置,所述控制装置包括控制器、安装在锅体上的液位开关和安装在注水管上的电磁阀,液位开关连接控制器输入端,电磁阀连接控制器输出端。本实用新型用于解决现有西瓜籽蒸煮水分挥发而导致蒸煮西瓜籽风味不一致和蒸煮泡沫不好去除的问题。


