授权公布号:CN217206247U
一种防滑倒靠梯
有效
申请
2022-02-22
申请公布
1970-01-01
授权
2022-08-16
预估到期
2032-02-22
| 申请号 | CN202220361215.6 |
| 申请日 | 2022-02-22 |
| 授权公布号 | CN217206247U |
| 授权公告日 | 2022-08-16 |
| 分类号 | E06C1/04;E06C7/00 |
| 分类 | 一般门、窗、百叶窗或卷辊遮帘;梯子; |
| 申请人名称 | 重庆建工集团股份有限公司 |
| 申请人地址 | 重庆市两江新区金开大道1596号 |
专利法律状态
2022-08-16
授权
状态信息
授权
摘要
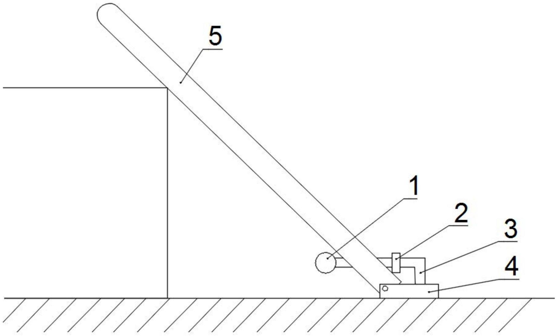
本实用新型属于建筑作业辅助工具技术领域,公开了一种防滑倒靠梯,包括控制组件和定位组件,所述控制组件包括主动轮、从动轮、链条、第一电机、控制器和遥控装置,所述主动轮和从动轮分别设在靠梯的竖杆两端,所述链条分别绕主动轮、从动轮形成闭环;所述主动轮与第一电机的输出轴连接;所述控制器分别与遥控装置、第一电机电连接,所述遥控装置用于发出指令,所述控制器用于根据遥控装置的指令控制第一电机开关;所述定位组件固定在链条上,所述定位组件包括L型固定件,所述L型固定件的两条边分别与靠梯的梯蹬垂直,所述L型固定件的开口方向与靠梯的竖杆相背。解决了现有技术靠梯在使用过程中安全性和稳定性较低的问题。


