授权公布号:CN216893430U
一种附着式脚手架固定结构
有效
申请
2022-02-22
申请公布
1970-01-01
授权
2022-07-05
预估到期
2032-02-22
| 申请号 | CN202220365291.4 |
| 申请日 | 2022-02-22 |
| 授权公布号 | CN216893430U |
| 授权公告日 | 2022-07-05 |
| 分类号 | E04G5/04;E04G5/00;G01L5/00;G08B21/02 |
| 分类 | 建筑物; |
| 申请人名称 | 重庆建工集团股份有限公司 |
| 申请人地址 | 重庆市两江新区金开大道1596号 |
专利法律状态
2022-07-05
授权
状态信息
授权
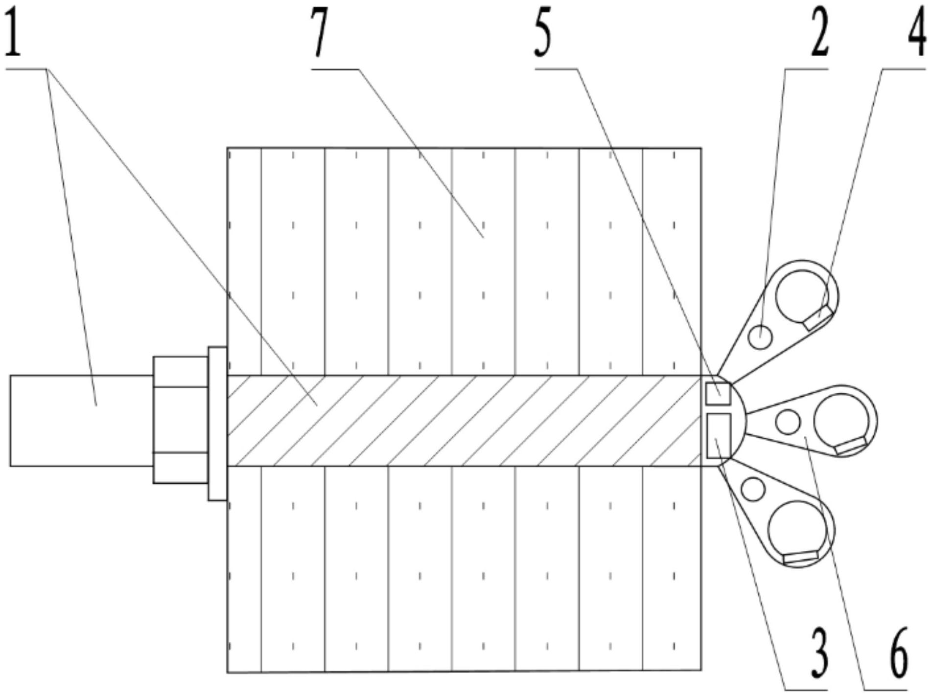
摘要
本实用新型涉及建筑行业辅助设备技术领域,尤其是一种附着式脚手架固定结构,包括预埋拉杆、控制器和提示单元,所述预埋拉杆贯穿建筑主体;所述预埋拉杆位于建筑主体外墙的一端设有若干个预安装结构;所述预安装结构,用于辅助安装脚手架;所述预安装结构上设有压力传感器;所述压力传感器和提示单元均与控制器电连接;所述压力传感器,采集预安装结构受到的压力数据,并反馈压力识别信号至所述控制器;所述控制器,根据所述压力识别信号,控制提示单元的启闭。采用本方案,能够对脚手架的固定情况进行监测,提升施工安全性。


