授权公布号:CN218348514U
一种家禽养殖用增光辅助设备
有效
申请
2022-08-25
申请公布
1970-01-01
授权
2023-01-20
预估到期
2032-08-25
| 申请号 | CN202222248861.4 |
| 申请日 | 2022-08-25 |
| 授权公布号 | CN218348514U |
| 授权公告日 | 2023-01-20 |
| 分类号 | F21S8/06;F21V21/38;F21V19/00;F21V15/01;F21V23/06;F21V21/40;F21Y115/10N |
| 分类 | 照明; |
| 申请人名称 | 重庆市万源禽蛋食品有限公司 |
| 申请人地址 | 重庆市合川区龙市镇钵耳村13社 |
专利法律状态
2023-01-20
授权
状态信息
授权
摘要
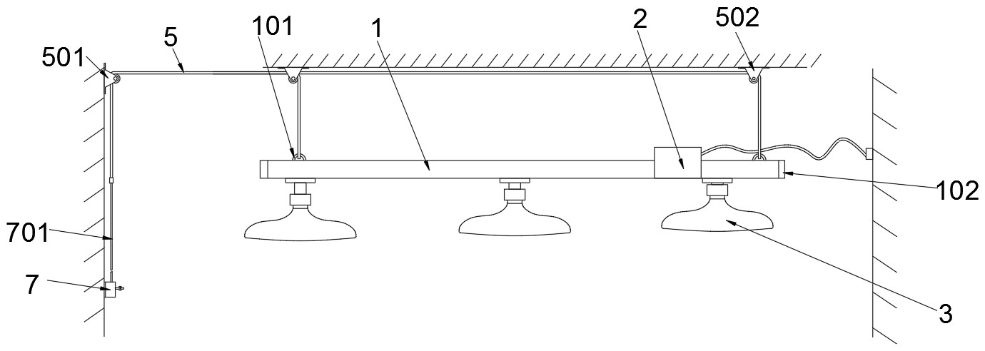
本实用新型公开了一种家禽养殖用增光辅助设备,包括LED灯和钢丝绳;钢丝绳的底端安装有辅助支架,辅助支架的底部安装有若干LED灯,辅助支架两侧的内壁安装有三组铜片,辅助支架底部的中央设有插槽,LED灯的顶部安装有转接盒,转接盒的两端安装有阶梯铜柱,阶梯铜柱与转接盒的内壁连接有U型弹片;通过钢丝绳、手摇器、辅助支架和转接盒组合使用,旋转手摇器使钢丝绳进行伸缩,进而可以调节辅助支架距离地面的高度,方便操作人员从地面进行灯具更换,不用进行登高作业,同时辅助支架内部旋转卡和转接盒,LED灯安装在转接盒底部,辅助支架和转接盒卡和后LED灯的接线触点与外部电路连通,进而便于移动调节LED灯的安装位置。


