授权公布号:CN214561151U
一种热熔焊接管去皮装置
有效
申请
2020-12-22
申请公布
1970-01-01
授权
2021-11-02
预估到期
2030-12-22
| 申请号 | CN202023119385.3 |
| 申请日 | 2020-12-22 |
| 授权公布号 | CN214561151U |
| 授权公告日 | 2021-11-02 |
| 分类号 | B26D1/08;B26D7/26;B26D7/01 |
| 分类 | 手动切割工具;切割;切断; |
| 申请人名称 | 杭州永通电子技术有限公司 |
| 申请人地址 | 浙江省杭州市余杭区仁和街道永泰路2号13-1 |
专利法律状态
2021-11-02
授权
状态信息
授权
摘要
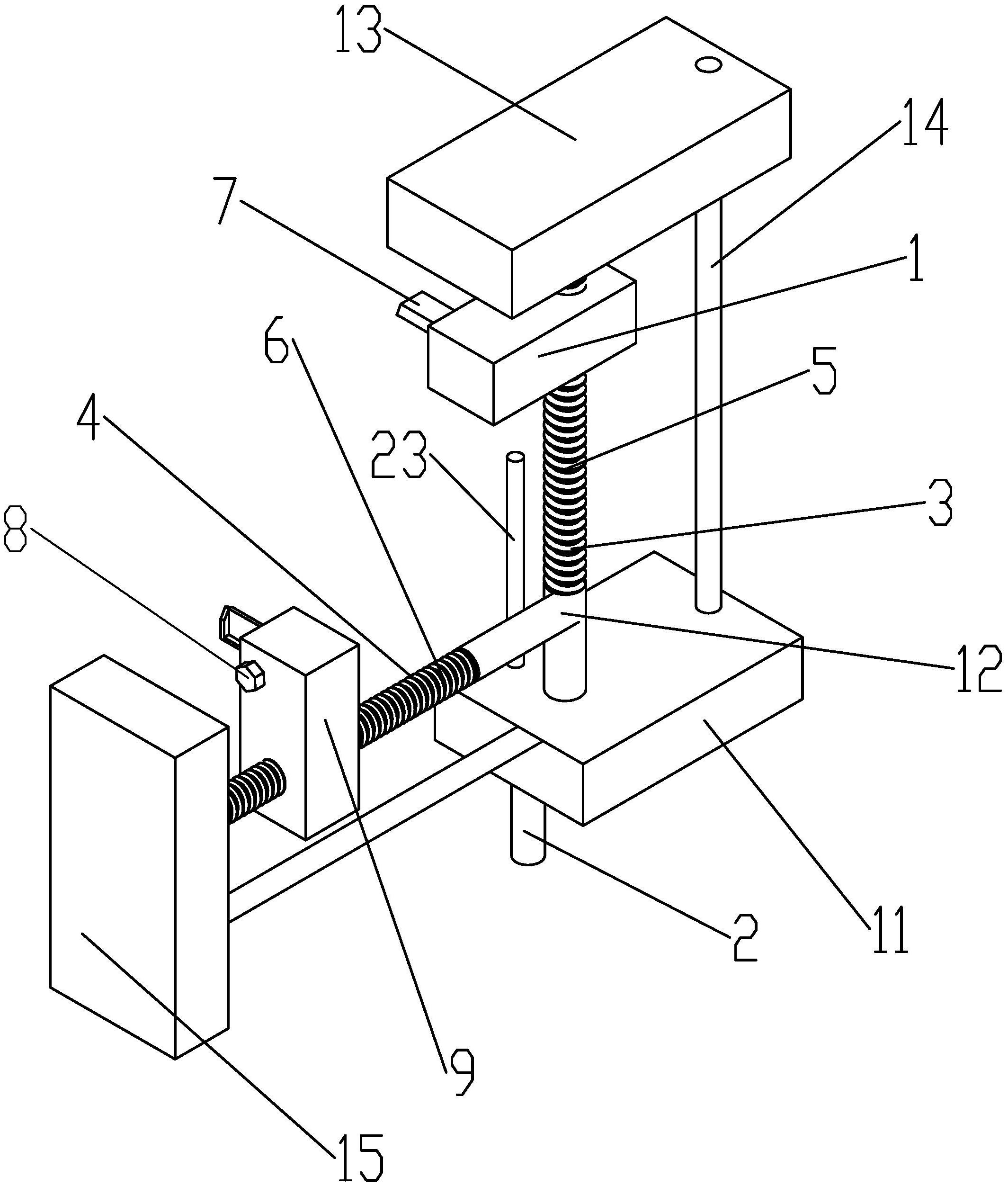
本实用新型公开了一种热熔焊接管去皮装置,包括去皮装置、握把和连接装置一和连接装置二,所述连接装置一设有丝杆一,所述连接装置二设有丝杆二,所述握把与连接装置一连接,所述丝杆一与去皮装置连接,所述丝杆二与去皮装置连接,解决了焊接管需要人工手动去毛刺效率低的问题。


