授权公布号:CN220173062U
集电装置
有效
申请
2023-06-30
申请公布
1970-01-01
授权
2023-12-12
预估到期
2033-06-30
| 申请号 | CN202321714432.X |
| 申请日 | 2023-06-30 |
| 授权公布号 | CN220173062U |
| 授权公告日 | 2023-12-12 |
| 分类号 | H02K13/00;H01R13/52;H01R39/08 |
| 分类 | 发电、变电或配电; |
| 申请人名称 | 深圳市沃尔核材股份有限公司 |
| 申请人地址 | 广东省深圳市坪山区龙田街道兰景北路沃尔工业园 |
专利法律状态
2023-12-12
授权
状态信息
授权
摘要
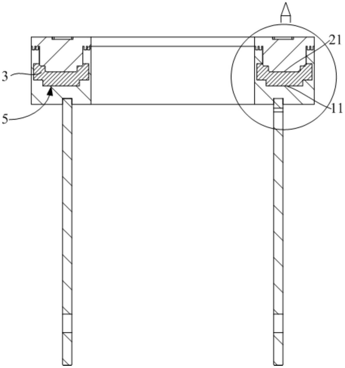
本实用新型公开一种集电装置,其中,所述集电装置包括定子机构和转子机构,所述定子机构设有导电面;所述转子机构设有触电面,所述转子机构与所述定子机构转动连接,并使所述触电面和所述导电面围合形成密闭腔,所述密闭腔填充有导电液,以使所述触电面和所述导电面通过所述导电液导电连通。本实用新型技术方案旨在避免凝露现象引起的导电滑环短路,同时,减少导电滑环相对转动的损耗,延长导电滑环的使用寿命。


