授权公布号:CN107994359B
内置光纤电缆的接头组件及接头连接方法
有效
申请
2017-12-22
申请公布
2018-05-04
授权
2024-02-02
预估到期
2037-12-22
| 申请号 | CN201711427363.3 |
| 申请日 | 2017-12-22 |
| 申请公布号 | CN107994359A |
| 申请公布日 | 2018-05-04 |
| 授权公布号 | CN107994359B |
| 授权公告日 | 2024-02-02 |
| 分类号 | H01R11/01;H01R11/09;H01R43/00;H01R43/048;G02B6/38 |
| 分类 | 基本电气元件; |
| 申请人名称 | 深圳市沃尔核材股份有限公司 |
| 申请人地址 | 广东省深圳市坪山区龙田街道兰景北路沃尔工业园 |
专利法律状态
2024-02-02
授权
状态信息
授权
2018-05-04
公布
状态信息
公布
摘要
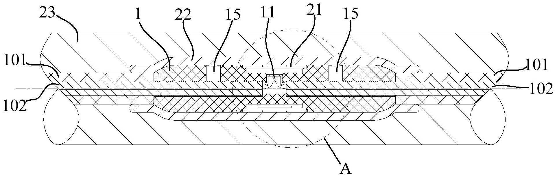
本发明公开一种内置光纤电缆的接头组件及接头连接方法,其中,内置光纤电缆的接头组件用以连接两电缆的末端,电缆包括外绝缘层、线芯及内置于线芯的光纤,接头组件包括:连接管,连接管的两端分别与两电缆的外露于末端的线芯固定套接;连接管中部的外周面凸出电缆外绝缘层的外周面,且于连接管中部开设有用以供两电缆的光纤引出并连接的引出孔;保护组件,覆盖引出孔设置。本发明内置光纤电缆的接头组件在连接两电缆线芯的同时还可以对光纤及其连接部位形成较好的保护。


