授权公布号:CN219706078U
热缩管收缩装置和加工设备
有效
申请
2023-03-07
申请公布
1970-01-01
授权
2023-09-19
预估到期
2033-03-07
| 申请号 | CN202320495190.3 |
| 申请日 | 2023-03-07 |
| 授权公布号 | CN219706078U |
| 授权公告日 | 2023-09-19 |
| 分类号 | B29C63/42;B29C63/00 |
| 分类 | 塑料的加工;一般处于塑性状态物质的加工; |
| 申请人名称 | 深圳市沃尔核材股份有限公司 |
| 申请人地址 | 广东省深圳市坪山区龙田街道兰景北路沃尔工业园 |
专利法律状态
2023-09-19
授权
状态信息
授权
摘要
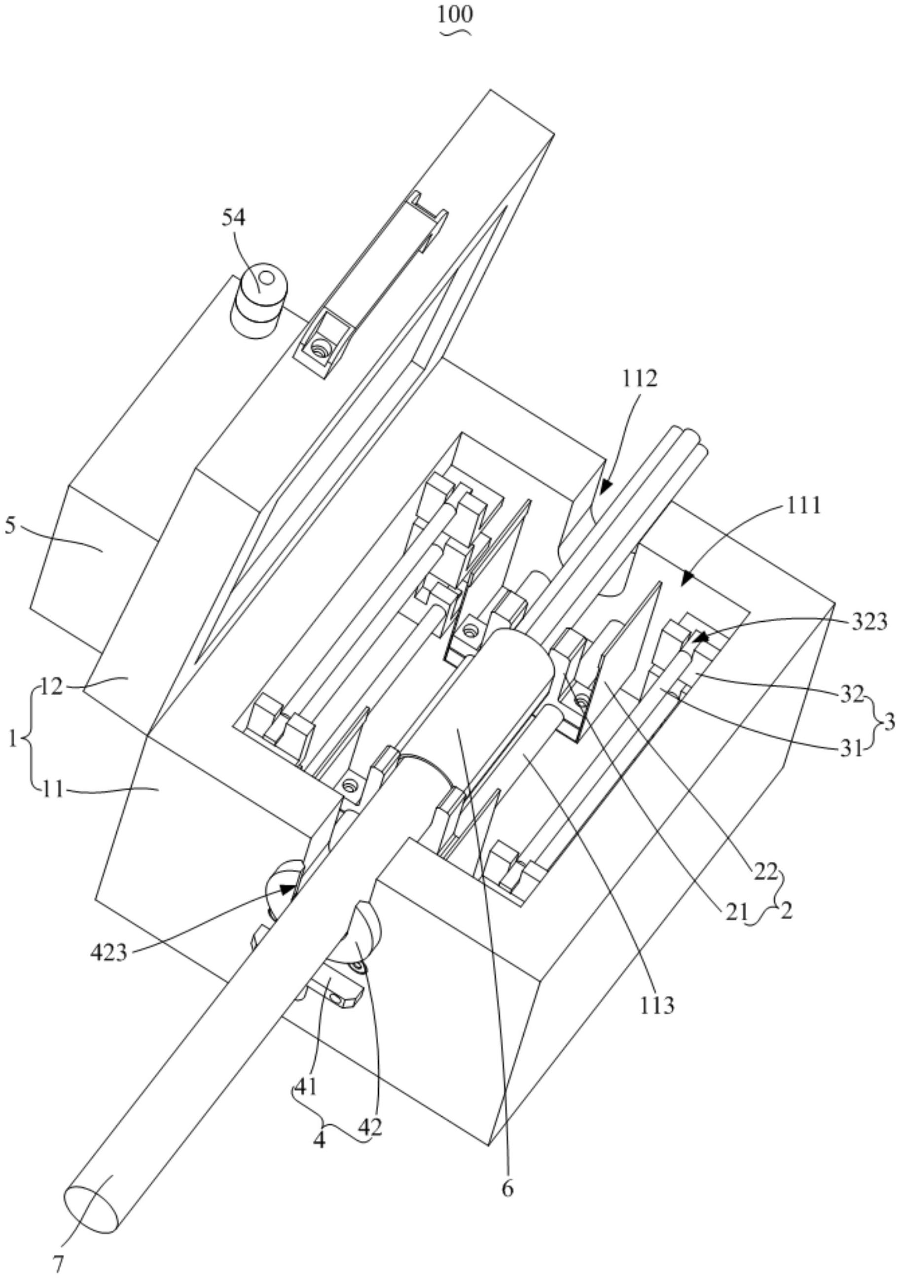
本实用新型公开一种热缩管收缩装置和加工设备,所述热缩管收缩装置包括机体、模具组件及加热组件,所述机体设有安装腔以及连通所述安装腔的过孔,所述模具组件活动设于所述安装腔内,所述模具组件设有定位通道,所述定位通道与所述过孔对应连通,所述定位通道用于盛放套设有热缩管的线缆,所述加热组件设于所述安装腔内,并与所述模具组件间隔设置,所述加热组件设有红外加热管,所述红外加热管用于向所述热缩管加热。本实用新型旨在提供一种有效提升生产效率的热缩管收缩装置,该热缩管收缩装置不仅解决了设备频繁故障的缺点,还满足生产线的需求,降低人工成本,同时能够适用于不同尺寸热缩管的收缩加工。


