授权公布号:CN117116566B
一种超柔铝导体线缆生产自动挤塑设备
有效
申请
2023-10-24
申请公布
2023-11-24
授权
2023-12-26
预估到期
2043-10-24
| 申请号 | CN202311376460.X |
| 申请日 | 2023-10-24 |
| 申请公布号 | CN117116566A |
| 申请公布日 | 2023-11-24 |
| 授权公布号 | CN117116566B |
| 授权公告日 | 2023-12-26 |
| 分类号 | H01B13/14;B29C48/154;B29C48/06 |
| 分类 | 基本电气元件; |
| 申请人名称 | 常丰线缆有限公司 |
| 申请人地址 | 河北省沧州市河间市沙河桥镇工业区 |
专利法律状态
2023-12-26
授权
状态信息
授权
2023-11-24
公布
状态信息
公布
摘要
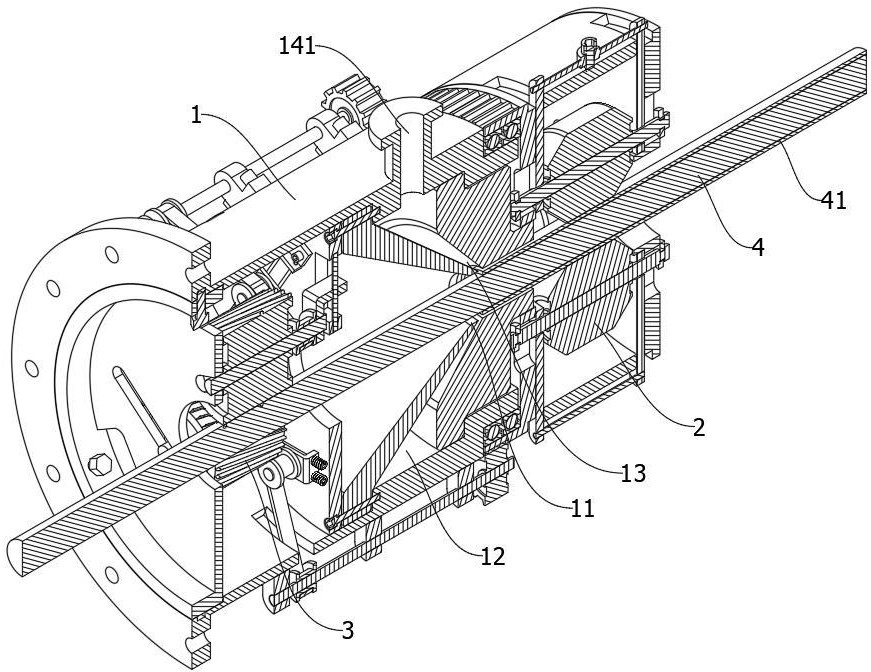
本发明涉及线缆加工技术领域,具体是涉及一种超柔铝导体线缆生产自动挤塑设备,包括可供线缆穿过并在线缆上包覆熔融母料的挤塑头模具,挤塑头模具包括成型座、滚圆旋转组件和滚圆驱动组件,本发明通过将滚圆旋转组件转动地设置在挤塑通道的出线端,将滚圆驱动组件设置在挤塑通道的进线端,而滚圆驱动组件和滚圆旋转组件传动连接,使得线缆在滑动穿过滚圆驱动组件、挤塑通道和滚圆旋转组件时,滚圆驱动组件能够自行带动滚圆旋转组件对线缆上的包覆层进行滚圆操作,使得滚圆旋转组件能够适配线缆的滑动速度,使得成型后的电缆截面呈规则的圆形结构,便于电缆的后续使用。


