授权公布号:CN117198654B
电缆制造用电缆导体表面预处理装置
有效
申请
2023-11-06
申请公布
2023-12-08
授权
2024-02-27
预估到期
2043-11-06
| 申请号 | CN202311463605.X |
| 申请日 | 2023-11-06 |
| 申请公布号 | CN117198654A |
| 申请公布日 | 2023-12-08 |
| 授权公布号 | CN117198654B |
| 授权公告日 | 2024-02-27 |
| 分类号 | H01B13/30;H01B13/00;H01B13/02;G01B11/10;B21C1/02;B21C51/00;B21C43/02;B21C9/00;F16N7/12 |
| 分类 | 基本电气元件; |
| 申请人名称 | 深圳市金环宇电线电缆有限公司 |
| 申请人地址 | 广东省深圳市宝安区松岗街道潭头西部工业区14栋 |
专利法律状态
2024-02-27
授权
状态信息
授权
2023-12-26
实质审查的生效
状态信息
实质审查的生效;IPC(主分类):H01B13/30;申请日:20231106
2023-12-08
公布
状态信息
公布
摘要
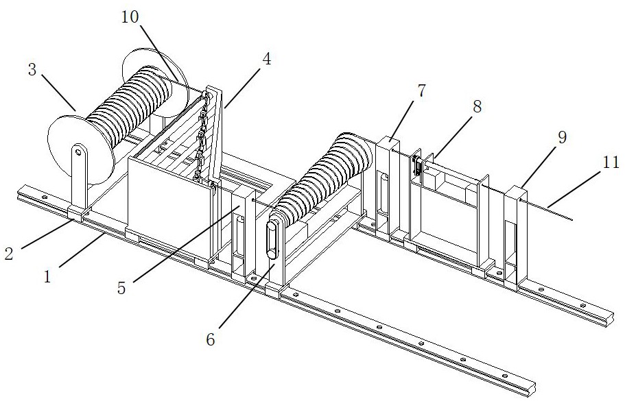
本发明属于导体表面处理设备技术领域,具体涉及一种电缆制造用电缆导体表面预处理装置,包括由前往后依次设置的供线组件、防断布线组件、涂油组件、拉拔组件、刮油除杂组件、油薄烘除组件和线径监测组件。本发明通过刮油除杂组件能够对拉制过程中涂覆的拉丝油刮除,拉丝油刮除过程中会将拉丝过程中产生的粉尘碎屑一同转移,通过简单的固液分离操作进行实现拉丝油的环保回收;通过设置油薄烘除组件来将细导线上残留的油性薄层进行烘干去除,烘干前利用转管内侧的抹匀刷将细导线表面油液进一步抹匀,这样使得热风烘干工序能够快速将油性薄层进行烘干去除,避免由于油性薄层沉积较厚无法充分烘除的现象出现。


