授权公布号:CN215343279U
一种可切换式射频连接器组件
有效
申请
2021-08-10
申请公布
1970-01-01
授权
2021-12-28
预估到期
2031-08-10
| 申请号 | CN202121855679.4 |
| 申请日 | 2021-08-10 |
| 授权公布号 | CN215343279U |
| 授权公告日 | 2021-12-28 |
| 分类号 | H01R29/00;H01R13/02;H01R13/502 |
| 分类 | 基本电气元件; |
| 申请人名称 | 罗森伯格亚太电子有限公司 |
| 申请人地址 | 北京市顺义区北京天竺空港工业区B区安详路3号 |
专利法律状态
2021-12-28
授权
状态信息
授权
摘要
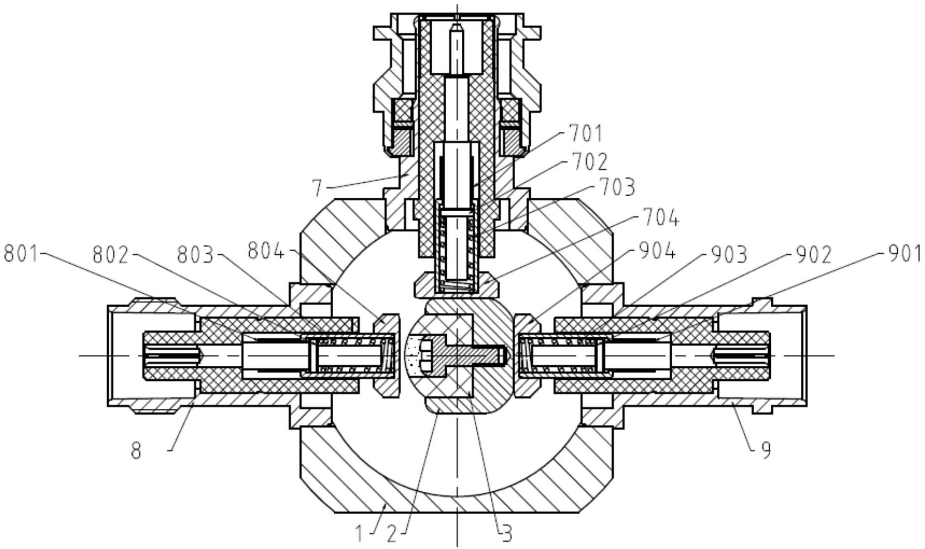
本实用新型涉及一种可切换式射频连接器组件,所述可切换式射频连接器组件包括:至少两个射频连接器,所述至少两个射频连接器被构造为弹性接触式射频连接器;切换组件,所述切换组件被构造为能够围绕一个中心轴进行旋转运动,以选择性地从所述至少两个射频连接器中选择两个射频连接器进行电性连接;以及驱动构件,所述驱动构件被构造用于驱动所述切换组件围绕所述中心轴进行旋转运动。依据本实用新型所提出的可切换式射频连接器组件在切换时既能够实现稳定的射频信号传输,也能够使得切换组件旋转时的目标位置较为明确,方便用户进行选择和切换。


