授权公布号:CN220367403U
一种用于端子压接后单端电性能检测装置
有效
申请
2023-05-11
申请公布
1970-01-01
授权
2024-01-19
预估到期
2033-05-11
| 申请号 | CN202321136266.X |
| 申请日 | 2023-05-11 |
| 授权公布号 | CN220367403U |
| 授权公告日 | 2024-01-19 |
| 分类号 | G01R31/69;G01R31/54;G01R1/04 |
| 分类 | 测量;测试; |
| 申请人名称 | 罗森伯格亚太电子有限公司 |
| 申请人地址 | 北京市顺义区北京天竺空港工业区B区安祥路3号 |
专利法律状态
2024-01-19
授权
状态信息
授权
摘要
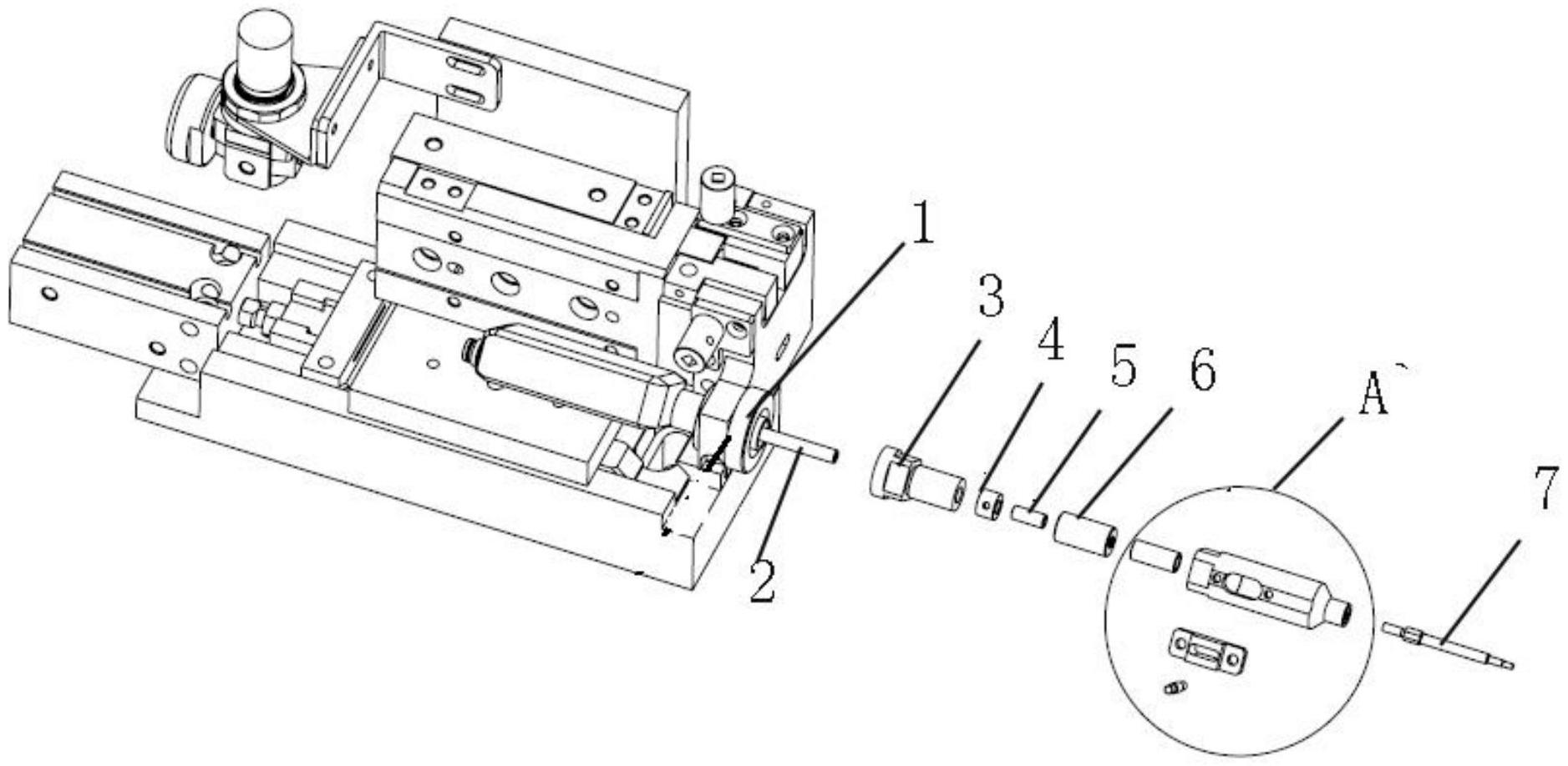
本实用新型公开一种用于端子压接后单端电性能检测装置,包括固定模块、绝缘体转接件、导管、绝缘套管、间隔套和导出轴,所述固定模块上安装有顶杆,所述探针与所述顶杆同轴连接,所述绝缘体转接件套设在所述顶杆的外部,并安装在所述固定模块上,所述导管安装在所述绝缘体转接件上,并套设在所述探针的外部,所述导管上设有连接孔,所述绝缘套管设于所述导管与所述探针之间,所述间隔套套设在所述顶杆的外部,并位于所述导管内,所述间隔套的外壁与所述导管的内壁具有间隙,且所述间隔套位于所述连接孔处,所述导出轴通过所述连接孔安装在所述间隔套上。本实用新型大大的提高了测试的精准度和稳定性。


