授权公布号:CN213717217U
一种转接器
有效
申请
2020-12-31
申请公布
1970-01-01
授权
2021-07-16
预估到期
2030-12-31
| 申请号 | CN202023305825.4 |
| 申请日 | 2020-12-31 |
| 授权公布号 | CN213717217U |
| 授权公告日 | 2021-07-16 |
| 分类号 | H01R31/06;H01R27/00;H01R13/639;H01R13/627;H01R13/502;G01R1/04;G01R31/58 |
| 分类 | 基本电气元件; |
| 申请人名称 | 罗森伯格亚太电子有限公司 |
| 申请人地址 | 北京市顺义区天竺空港工业区B区安祥路3号 |
专利法律状态
2021-07-16
授权
状态信息
授权
摘要
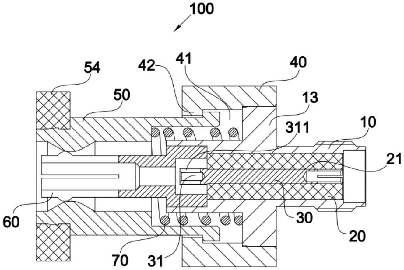
本实用新型揭示了一种转接器,包括连接器主体、壳体、弹性件、锁紧件和弹性夹持件,连接器主体包括外导体、内导体及绝缘体,壳体套设于连接器主体并与连接器主体之间形成有限位空间,锁紧件的一端可移动地限位于限位空间内,锁紧件的另一端设有挤压部,弹性件至少部分位于限位空间内,弹性件的一端抵接于限位空间的侧壁,弹性件的另一端抵接于锁紧件,弹性夹持件的一端与外导体可拆卸地连接,弹性夹持件的另一端设有至少两个弹性夹持部,每个弹性夹持部设有抵挡部,挤压部与抵挡部配合以使至少两个弹性夹持部向中心聚拢。本实用新型能够与被测电缆或电缆组件快速连接,避免对其造成破坏,提高装配效率,适用于不同型号的电缆及电缆组件。


