授权公布号:CN218534358U
安装工装
有效
申请
2022-09-09
申请公布
1970-01-01
授权
2023-02-28
预估到期
2032-09-09
| 申请号 | CN202222399040.0 |
| 申请日 | 2022-09-09 |
| 授权公布号 | CN218534358U |
| 授权公告日 | 2023-02-28 |
| 分类号 | B25B27/00 |
| 分类 | 手动工具;轻便机动工具;手动器械的手柄;车间设备;机械手; |
| 申请人名称 | 陕西延长石油西北橡胶有限责任公司 |
| 申请人地址 | 陕西省咸阳市秦都区西华路一号院内 |
专利法律状态
2023-02-28
授权
状态信息
授权
摘要
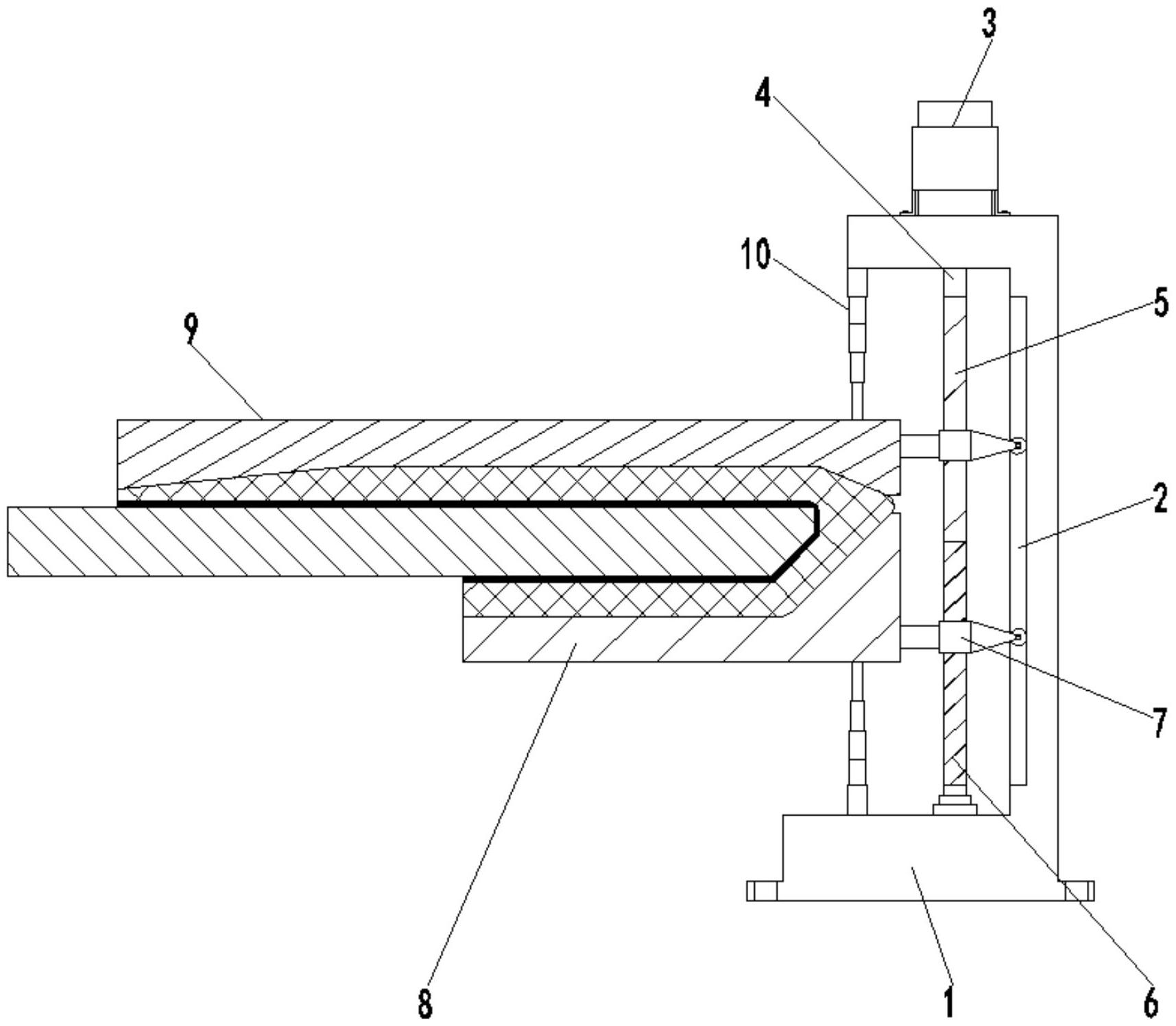
本实用新型涉及安装工装,包括安装架,所述安装架上设有驱动组件,驱动组件上设有工装机构,驱动组件包括开设于安装架内腔壁的滑槽和固定安装于安装架顶部的伺服电机,所述伺服电机的输出轴处固定安装有与安装架的底部活动连接的转轴,转轴的外部开设有正向螺纹槽,转轴的外部开设有与正向螺纹槽连通的反向螺纹槽,所述正向螺纹槽与反向螺纹槽内均螺纹连接有与滑槽滑动连接的螺纹移动杆,工装机构包括固定安装于顶部所述螺纹移动杆左侧的外侧安装工装。该安装工装,通过设置的驱动组件,从而方便了通过驱动驱动组件带动工装机构移动实现按压均匀受力保证胶黏剂均匀分布于密封条与蒙皮之间,保证密封条表面质量。


